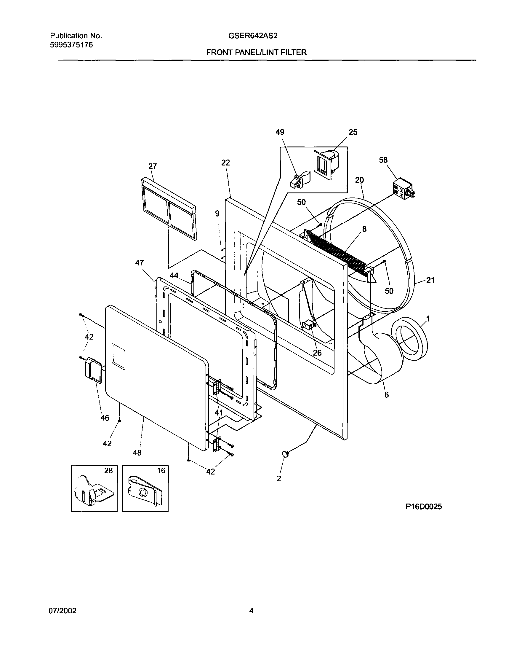
GSER642AS2 05 – FRNT PNL,DOORadmin2025-04-26T10:25:02+00:00GSER642AS2 05 – FRNT PNL,DOOR ProductsPositionProductNI5308027429 Frigidaire Dryer High Temperature AdhesiveNIWCI 131474700NI131843500 Frigidaire Washer Appliance Lamp Light Bulb AssemblyNIWCI 1318466001134417000 Frigidaire Seal2131397000 Frigidaire Plug6WCI 1316219008Sensor-moisture,assy w/harness9131633200 Frigidaire Plug16WCI 131063700205303937182 Frigidaire Dryer Drum Upper Felt Seal with Adhesive215303937183 Frigidaire Dryer Lower Front Felt Seal22WCI 13184591225131658800 Frigidaire Dryer Door Catch Repair Kit26134813601 Frigidaire Dryer Door Switch 3-Wire27131450300 Frigidaire Dryer Lint Screen Filter28CLIP GUIDE (4)41134222900 Frigidaire Dryer Door Hinge42134156200 Frigidaire Screw44137551901 Frigidaire Gasket46131644700 Frigidaire Dryer Door Handle (White)47WCI 13184410448DOOR-OUTER, WHITE495303207102 Frigidaire Door Strike50131302800 Frigidaire Drum Vane Screw