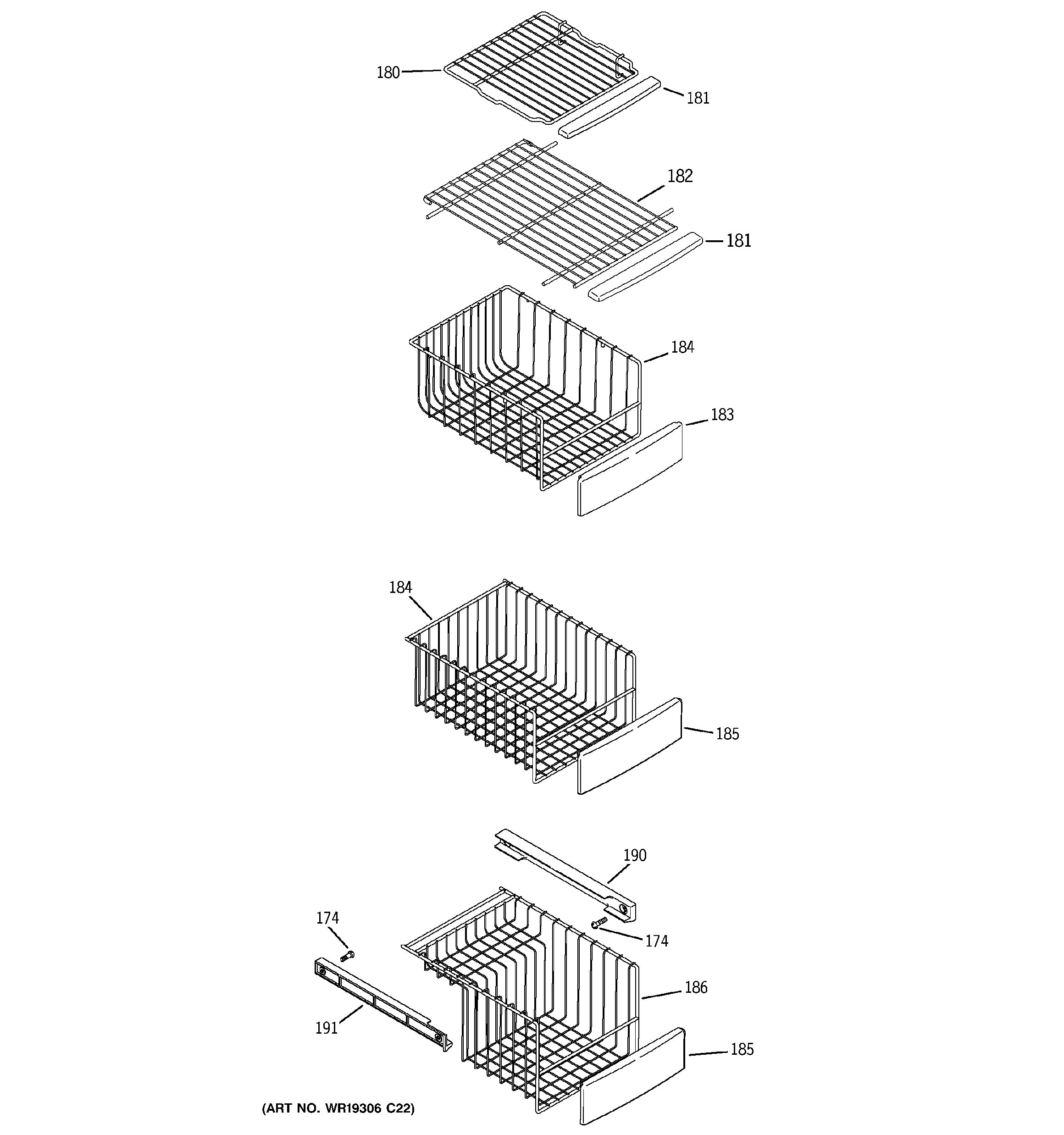
GSF25LGWCBB FREEZER SHELVESadmin2025-04-26T08:50:17+00:00GSF25LGWCBB FREEZER SHELVES ProductsPositionProduct174WR01X10447 GE Refrigerator SCR-8-18-AB-UFL180WR71X10965 GE Fixed Refrigerator Shelf181WR38X10456 GE Refrigerator Trim Shelf182WR71X10502 GE Refrigerator Adjustable Shelf184WR21X10060 GE Refrigerator Wire Basket185WR12X10625 GE Refrigerator Door Handle185WR12X10626 GE Refrigerator Handle186WR21X10035 GE Refrigerator Wire Basket Short190WR17X10916 GE Refrigerator Slide Basket Right Hand191WR17X10917 GE Refrigerator Slide Basket Left Hand