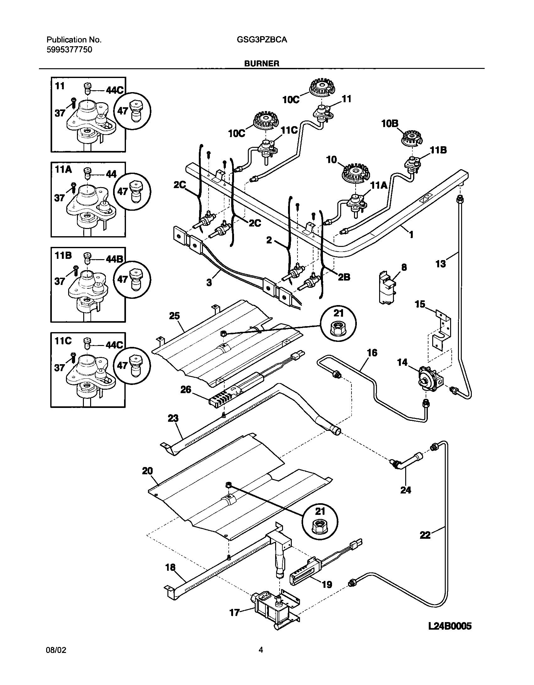
GSG3PZBCA 05 – BURNER