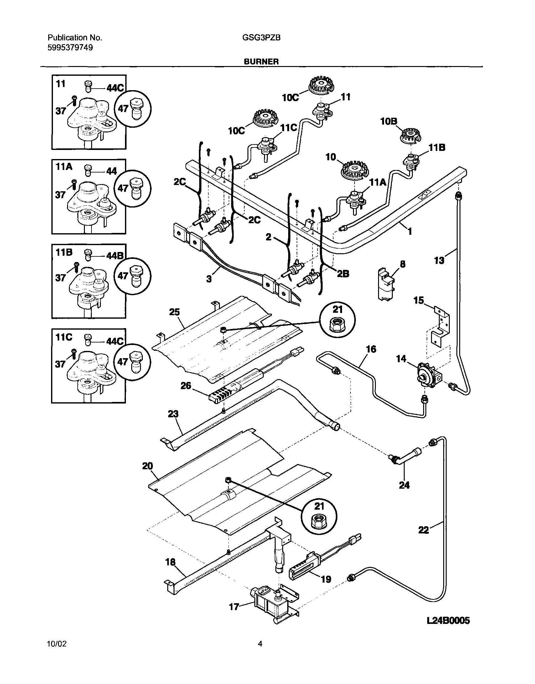
GSG3PZBSB 05 – BURNER