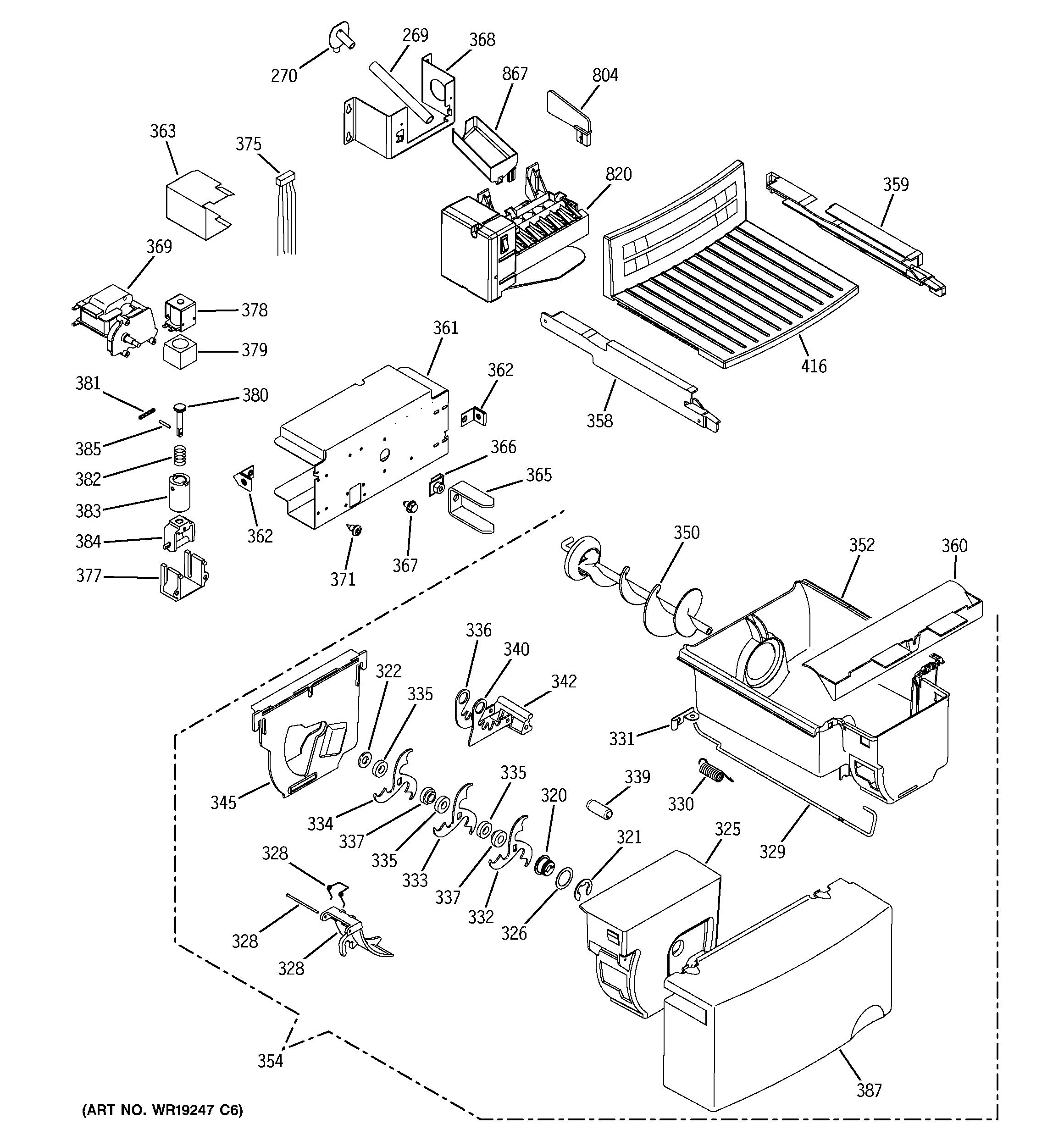
GSH22JGBBWW ICE MAKER & DISPENSER

GSH22JGBBWW ICE MAKER & DISPENSER

Products

PositionProduct
269WR17X11168 GROMMET AND TUBE ASM
270WR02X10967 GE Refrigerator Gasket and Grommet Assembly
320WR01X10315 GE Refrigerator Auger Nut
321WR1X1367D GE Refrigerator Return Package 12
322GEN WR02X11266
325WR17X11505 GE Refrigerator Housing Crusher
326GEN WR01X1366
328WR17X10703 GE Refrigerator Deflector
328WR2X4143 GE Refrigerator Pivot
328GEN WR02X4561
329WR17X11403 GE Refrigerator Wire Actuator Dispenser
330WR02X11768 GE Refrigerator Internal Spring Deflector
331WR02X10580 GE Refrigerator Retainer Spring
332WR17X11239 GE Refrigerator Blades Moving Dispenser
333WR17X11240 GE Dispensing Moving Blades
334WR17X11241 GE Refrigerator Blades Moving Dispenser
335GEN WR02X4139
336GEN WR17X1009
337WR2X4138 GE Refrigerator Spacer
339GEN WR02X4141
340WR17X2058 GE Refrigerator Dispenser Blade
342WR02X10691 GE Refrigerator STATIONARY Blades Assembly
345WR17X11497 GE Refrigerator Ice Dispenser Crusher Cover
350BUCKET AUGER
352WR30X10017 GE Ice Bucket
354BUCKET & AUGER ASM
358WR72X10233 GE Refrigerator Drawer Glide
359WR72X10234 GE Refrigerator Right Hand Dispenser Glide Bucket
360WR17X11450 GE Refrigerator Diverter Overflow
361COVER MOTOR FRONT
363COVER, AUGER MOTOR REAR
365DRIVE AUGER DISP
367WD2X323D GE Dishwasher Screw Package
369WR60X10258 GE Refrigerator Icemaker Auger Motor
371WR01X10619 GE Refrigerator Screw
375HARNESS MOTOR DISP
380WR62X23154 GE Refrigerator Ice Dispenser Solenoid Kit
385WR62X26536 GE Refrigerator Armature Kit
387GEN WR17X12176
416WR71X10961 GE Refrigerator Chiller Shelf
804WR29X10054 GE Refrigerator Ice Maker Guard Rail
820WR30X10093 GE Refrigerator Ice Maker
867WR29X10109 GE Refrigerator Water Fill Cup