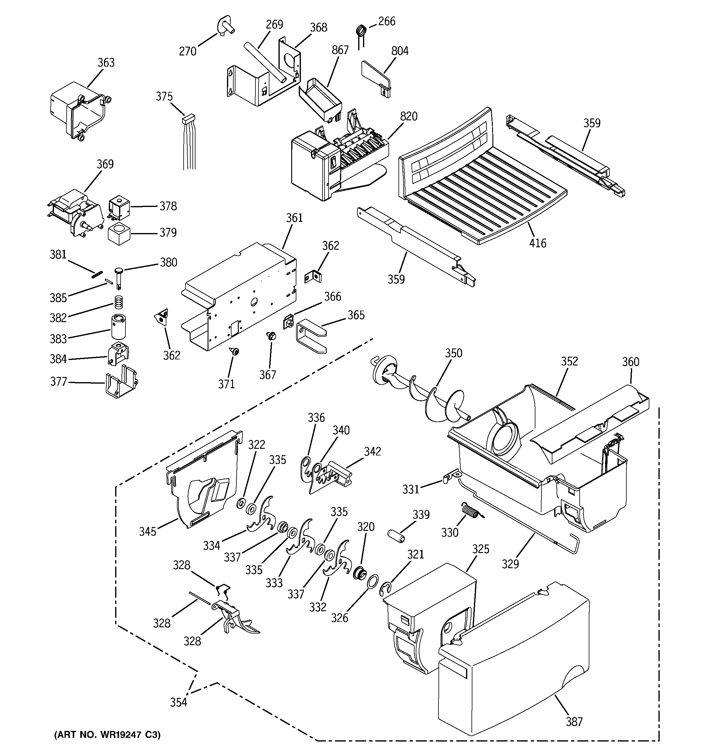
GSH25KGPABB ICE MAKER & DISPENSER

GSH25KGPABB ICE MAKER & DISPENSER

Products

PositionProduct
266GEN WR51X10058
269WR17X11168 GROMMET AND TUBE ASM
270WR2X8474 GE Fill Tube
320WR01X10315 GE Refrigerator Auger Nut
321WR1X1367D GE Refrigerator Return Package 12
322GEN WR02X11266
325WR17X11505 GE Refrigerator Housing Crusher
326GEN WR01X1366
328WR2X4143 GE Refrigerator Pivot
328GEN WR02X4561
328WR17X10703 GE Refrigerator Deflector
329WR17X11403 GE Refrigerator Wire Actuator Dispenser
330WR02X11768 GE Refrigerator Internal Spring Deflector
331WR02X10580 GE Refrigerator Retainer Spring
332WR17X11239 GE Refrigerator Blades Moving Dispenser
333WR17X11240 GE Dispensing Moving Blades
334WR17X11241 GE Refrigerator Blades Moving Dispenser
335GEN WR02X4139
336GEN WR17X1009
337WR2X4138 GE Refrigerator Spacer
339GEN WR02X4141
340WR17X2058 GE Refrigerator Dispenser Blade
342WR02X10691 GE Refrigerator STATIONARY Blades Assembly
345WR17X11497 GE Refrigerator Ice Dispenser Crusher Cover
350BUCKET AUGER
352WR30X10016 GE Refrigerator Ice Bucket Divider
354GEN WR17X11419
359WR72X10169 GE Refrigerator Glide Bracket Left Hand
359WR72X10145 GE Refrigerator Right Hand Glide Bucket Display
360WR17X11449 GE Refrigerator Diverter Overflow
361GEN WR17X11323
362GEN WR02X10971
363WR02X11295 GE Refrigerator Auger Motor Boot
365DRIVE AUGER DISP
366GEN WR01X10190
367WR01X10618 GE Refrigerator Screw 8-18 TPT 1/4
368GEN WR02X10981
369WR60X10258 GE Refrigerator Icemaker Auger Motor
371WR01X10619 GE Refrigerator Screw
375GEN WR23X10157
377WR2X7309 GE Refrigerator Solenoid Cushion
381WR62X23154 GE Refrigerator Ice Dispenser Solenoid Kit
382WR62X26536 GE Refrigerator Armature Kit
387WR17X10779 GE Refrigerator Cover Bucket Display
416WR17X12911 GE Shelf
804WR29X10054 GE Refrigerator Ice Maker Guard Rail
820WR30X10093 GE Refrigerator Ice Maker
867WR29X10092 GE Refrigerator Ice Maker Fill Cup