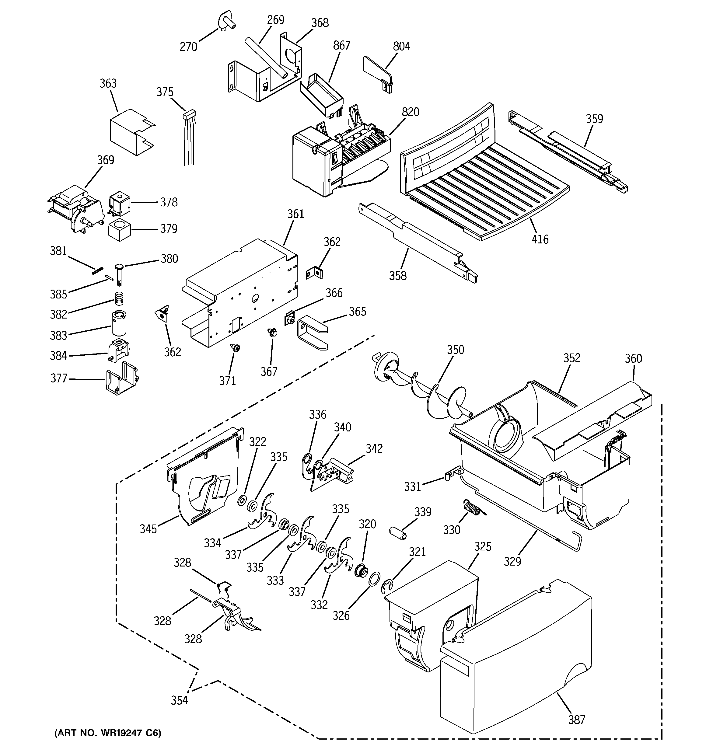
GSL25QGPDBS ICE MAKER & DISPENSERadmin2025-04-26T08:41:46+00:00GSL25QGPDBS ICE MAKER & DISPENSER ProductsPositionProduct270WR17X11168 GROMMET AND TUBE ASM320WR01X10315 GE Refrigerator Auger Nut321WR1X1367D GE Refrigerator Return Package 12322GEN WR02X11266325WR17X11505 GE Refrigerator Housing Crusher326GEN WR01X1366328WR17X10703 GE Refrigerator Deflector328WR2X4143 GE Refrigerator Pivot328GEN WR02X4561329WR17X11403 GE Refrigerator Wire Actuator Dispenser330WR02X11768 GE Refrigerator Internal Spring Deflector331WR02X10580 GE Refrigerator Retainer Spring332WR17X11239 GE Refrigerator Blades Moving Dispenser333WR17X11240 GE Dispensing Moving Blades334WR17X11241 GE Refrigerator Blades Moving Dispenser335GEN WR02X4139336GEN WR17X1009337WR2X4138 GE Refrigerator Spacer339GEN WR02X4141340WR17X2058 GE Refrigerator Dispenser Blade342WR02X10691 GE Refrigerator STATIONARY Blades Assembly345WR17X11497 GE Refrigerator Ice Dispenser Crusher Cover350BUCKET AUGER352WR30X10016 GE Refrigerator Ice Bucket Divider354GEN WR17X11419358WR72X10169 GE Refrigerator Glide Bracket Left Hand359WR72X10170 GE Refrigerator Glide Bracket Right Hand360WR17X11449 GE Refrigerator Diverter Overflow361GEN WR17X11628362GEN WR02X10971363WR02X11295 GE Refrigerator Auger Motor Boot365DRIVE AUGER DISP366GEN WR01X10190367WR01X10618 GE Refrigerator Screw 8-18 TPT 1/4368GEN WR02X11576369WR60X10258 GE Refrigerator Icemaker Auger Motor371WR01X10619 GE Refrigerator Screw375GEN WR23X10157377WR2X7309 GE Refrigerator Solenoid Cushion381WR62X23154 GE Refrigerator Ice Dispenser Solenoid Kit382WR62X26536 GE Refrigerator Armature Kit387WR17X10779 GE Refrigerator Cover Bucket Display416WR17X12911 GE Shelf804WR29X10054 GE Refrigerator Ice Maker Guard Rail820WR30X10093 GE Refrigerator Ice Maker867WR29X10109 GE Refrigerator Water Fill Cup