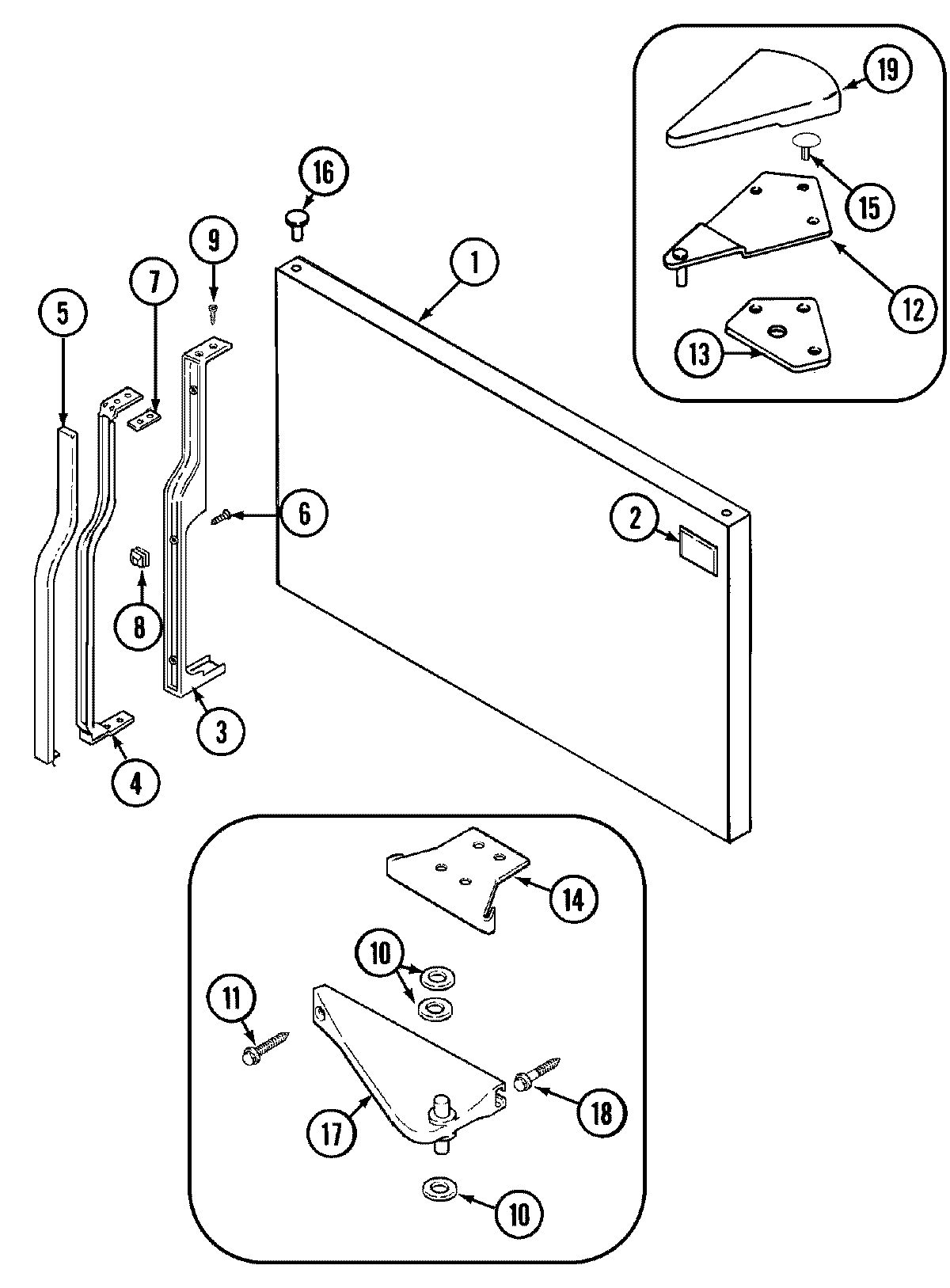
GT2424NDCW 05 – FREEZER OUTER DOOR