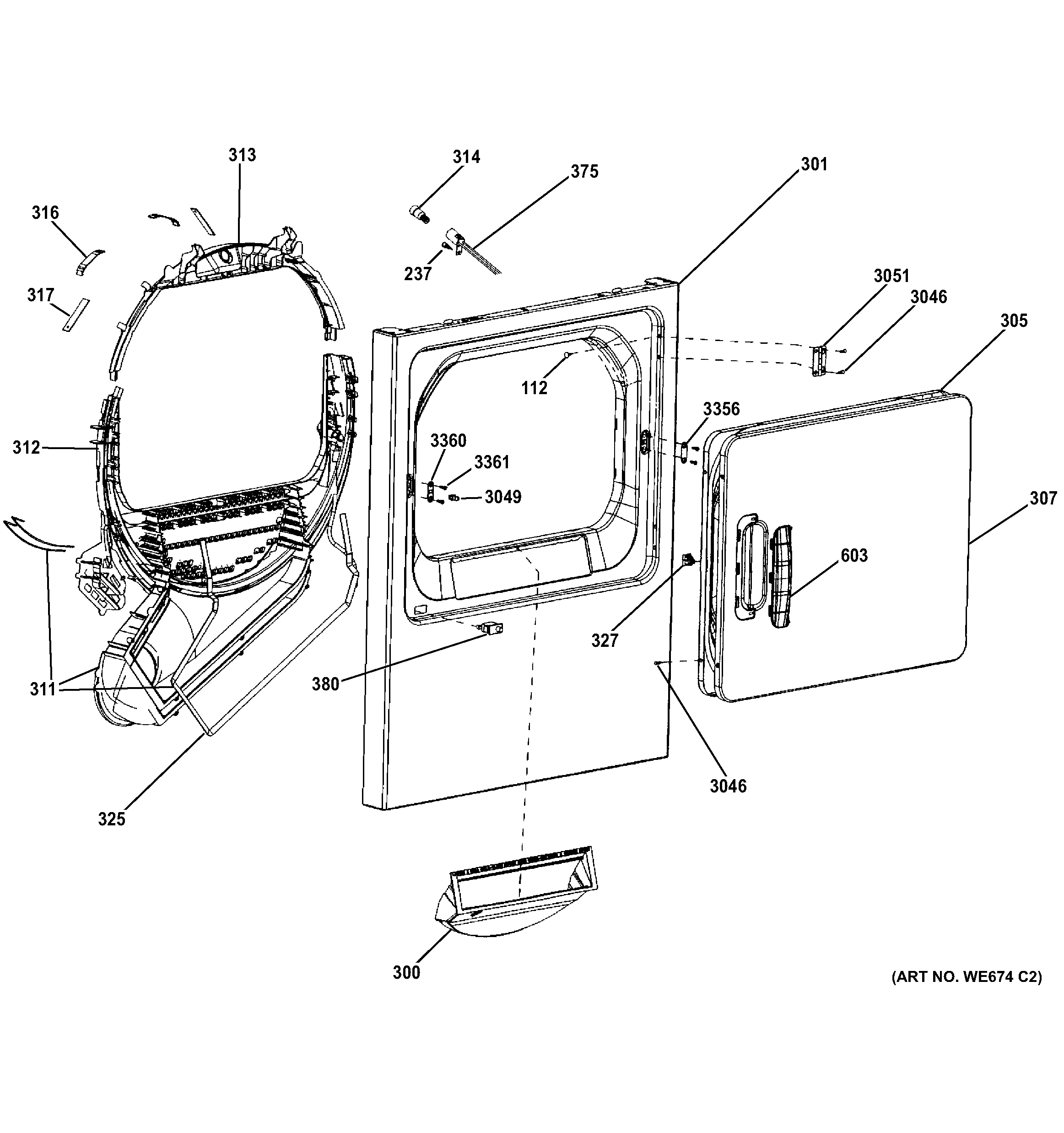
GTDP200EF2WS FRONT PANEL & DOORadmin2025-04-26T08:42:50+00:00GTDP200EF2WS FRONT PANEL & DOOR ProductsPositionProduct112WR01X21159 GE Button Plug237WD02X10057 GE Dishwasher Screw 10-16 x 1300WE18X25100 GE Dryer Lint Screen Filter301GEN WE20X20322301WE49X22295 GE Front Panel Assembly305GEN WE10X20525307PANEL DOOR OUTER WH311WE14X25080 GE Dryer Lint Filter Trap Assembly312FELT TRAP DUCT313WE3M26 GE Washer Dryer Front Drum Bearing314WE05X20431 GE Washer Dryer 120V 10W Light Bulb Lamp316WE03X37317 GE Bearing Drum Slide Green 2Pk317WE03X37318 GE White Drum Slide Bearing 2 Pack325WE1M825 GE Washer 39 Inch Dryer Gasket Seal327WE1M1011 GE Washer Dryer Door Latch375GEN WE5M48380WE4M415 GE Washer Door Switch603WE01X20419 GE Washer Dryer White Door Handle3049WE1X1192 GE Dryer Door Strike3051WE1M1033 GE Hinge3356WE1M569 GE Strike Plate3360WE1M570 GE Strike Plate with Strike Hole3361WE2M196 GE Screw #8