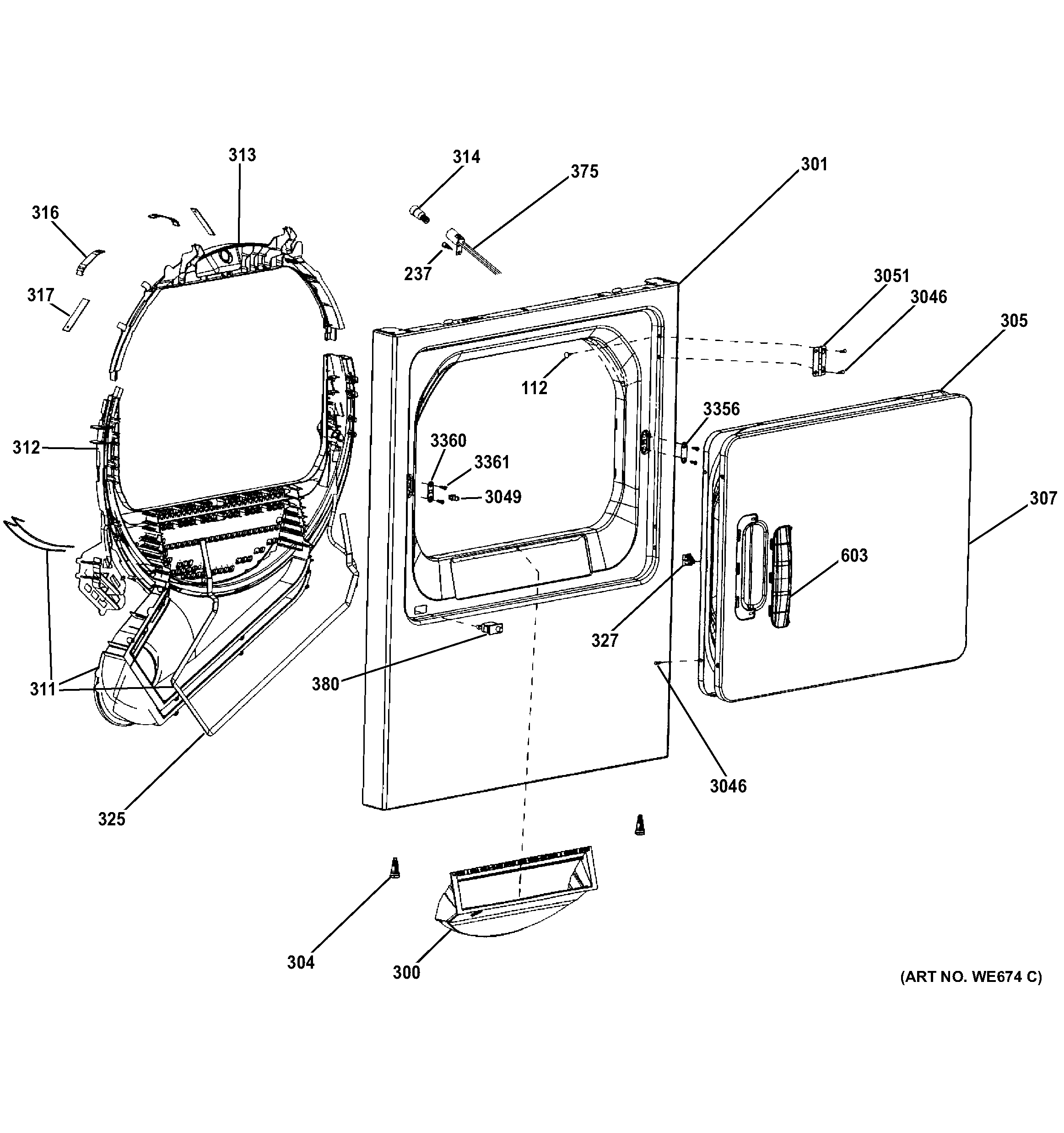
GTDX185PD3CC FRONT PANEL & DOOR