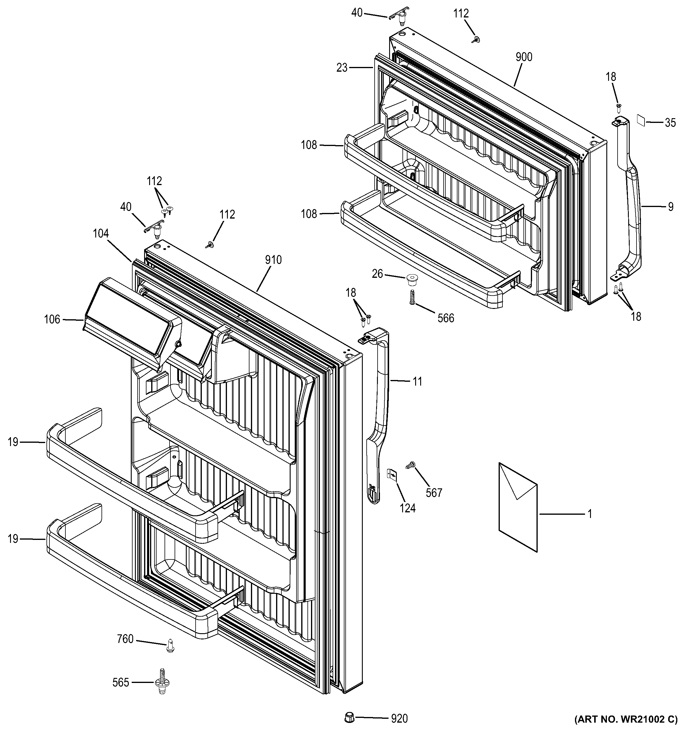
GTH16DBEDLWW DOORS