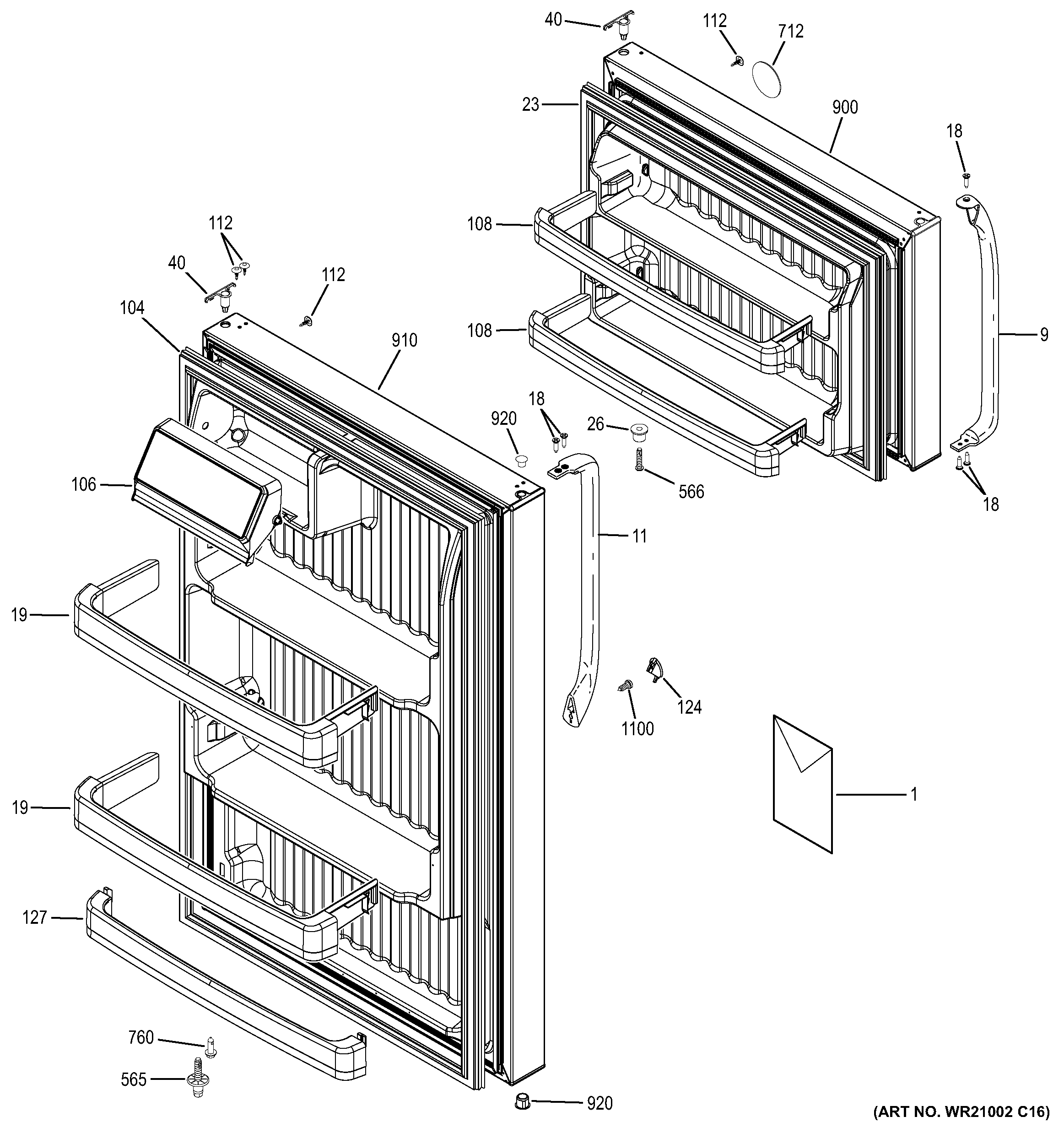
GTJ18GCDDRSA DOORS