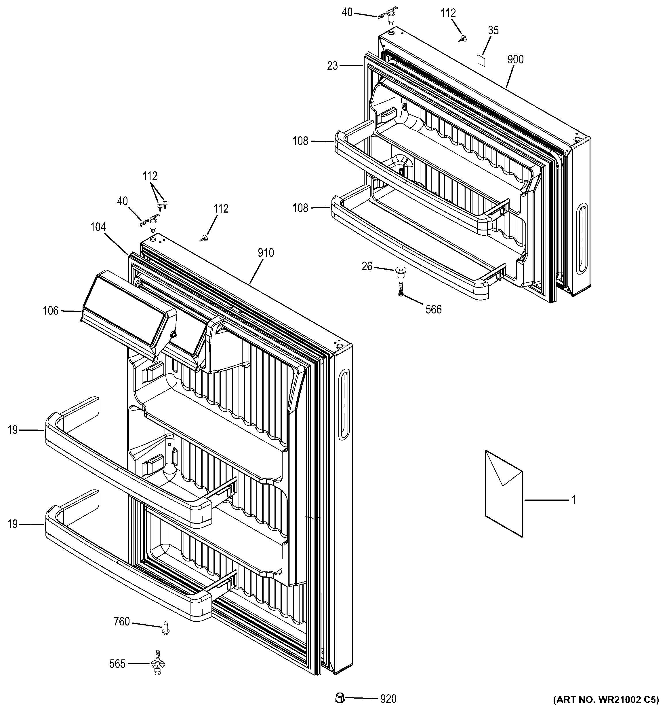
GTN17DBEFRWW DOORS