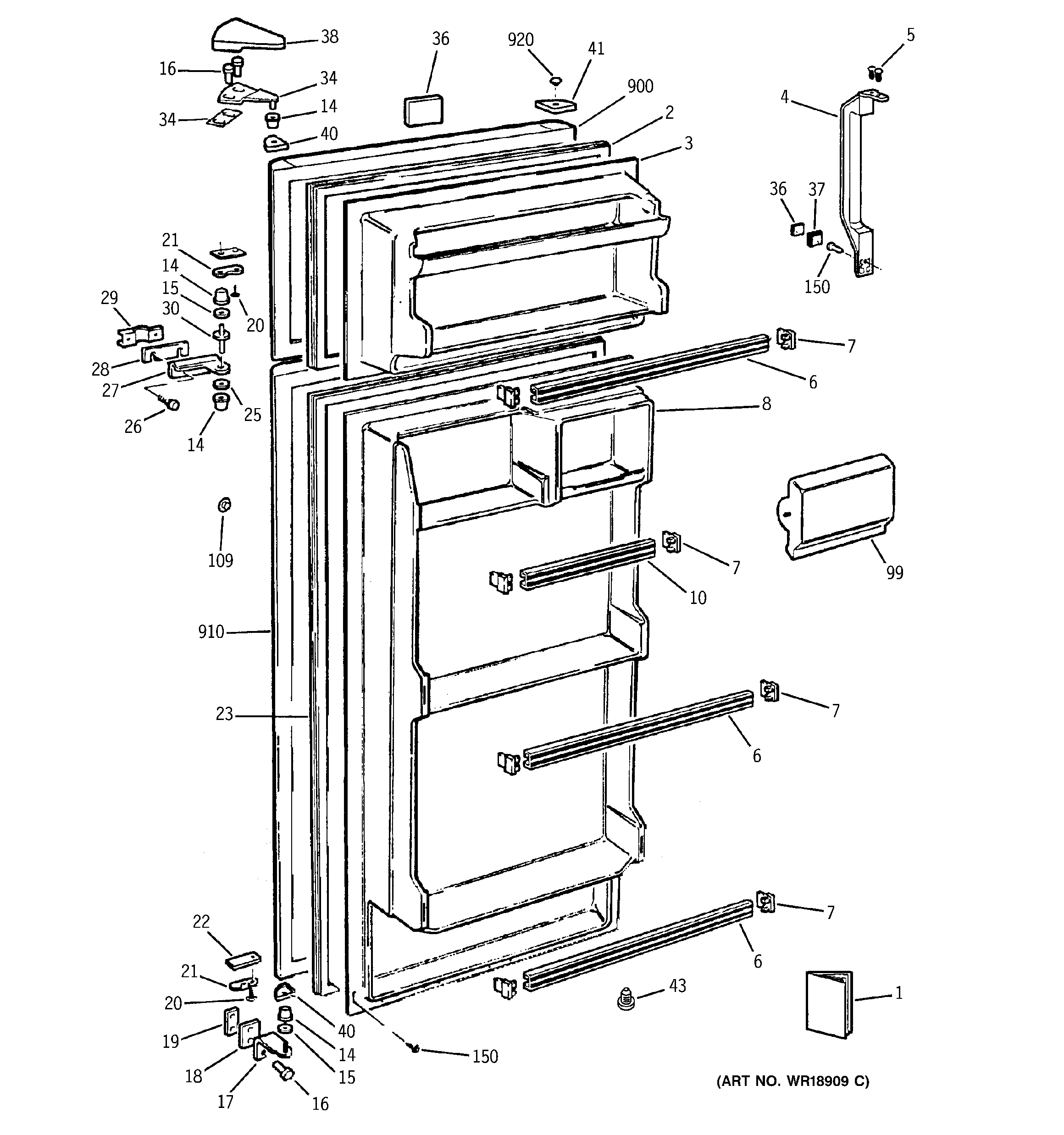
GTS12BBMALCC DOORSadmin2025-04-26T08:39:49+00:00GTS12BBMALCC DOORS ProductsPositionProduct1GEN 31-470131GEN 49 - 600991DIAGRAM, WIRING2GEN WR24M2403GEN WR77M4404GEN WR12M9735GEN WR1M7266GEN WR17X38677GEN WR02X92738GEN WR77M44110GEN WR17X386814GEN WR02X927415GEN WR01X205515GEN WR01X205616GEN WR01X205816GEN WR01X205717GEN WR13M23118GEN WR02X927618GEN WR02X927519GEN WR02X927720SCREW HANDLE SS21GEN WR2M359123GEN WR24M24125GEN WR01X206026GEN WR01X206126GEN WR01X206227GEN WR13X074927GEN WR2M356028SHIM CENTER HINGE29GEN WR02X928030GEN WR2M356134GEN WR02X928234GEN WR13X071136GEN WR3M49537GEN WR3M49637GEN WR2M359438GEN WR2M359240GEN WR2M358941GEN WR2M359043GEN WR2M359399GEN WR22X0499109GEN WR2M3577150GEN WR01X2054900GEN WR78M5747910GEN WR78M5748920GEN WR2M3575