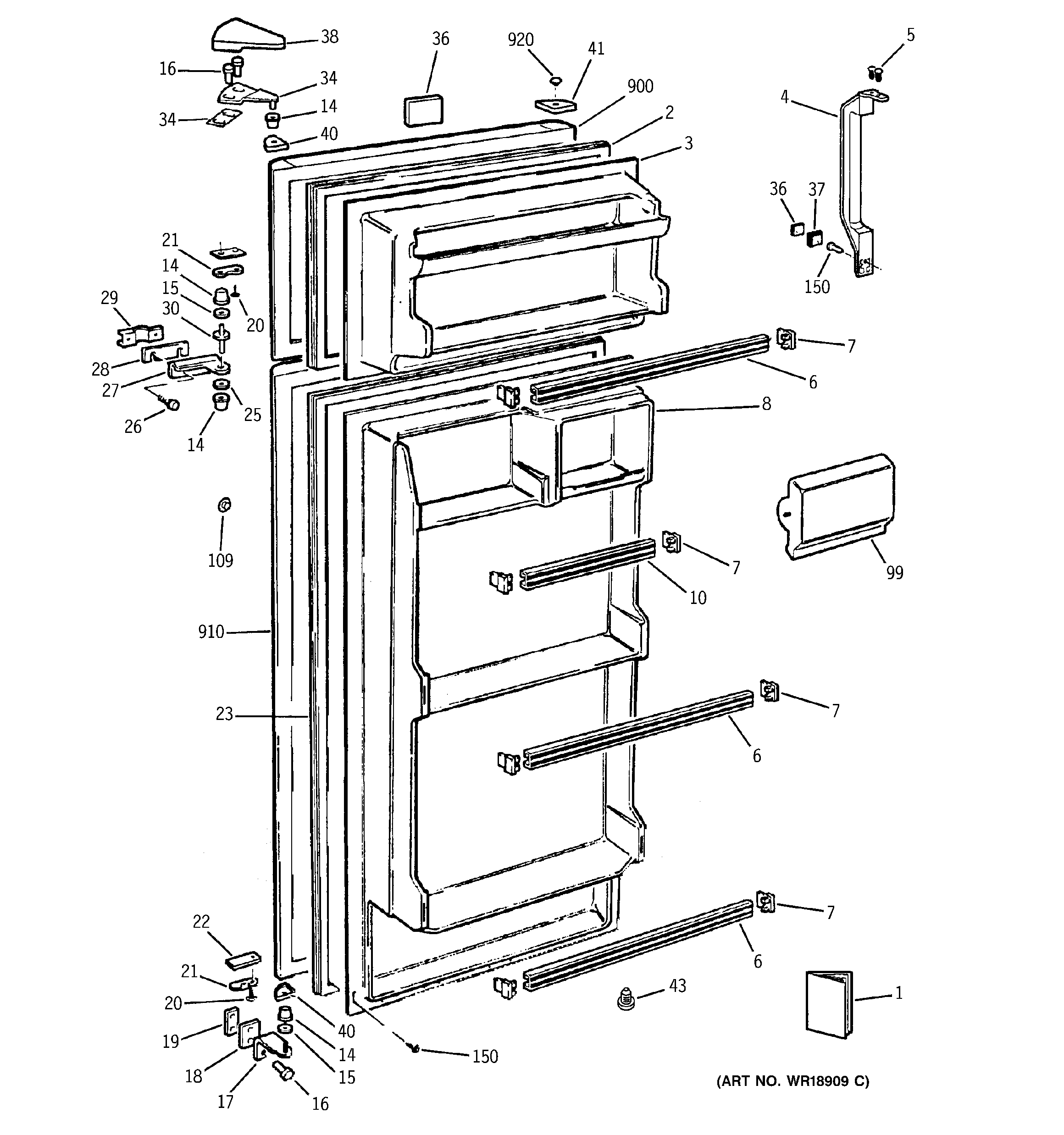
GTS12BBMALWW DOORSadmin2025-04-26T08:39:52+00:00GTS12BBMALWW DOORS ProductsPositionProduct1GEN 49 - 600991DIAGRAM, WIRING1GEN 31-470132GEN WR24M2403GEN WR77M4404GEN WR12M8975GEN WR1M7176GEN WR17X38677GEN WR02X92738GEN WR77M44110GEN WR17X386814GEN WR02X927415GEN WR01X205515GEN WR01X205616GEN WR01X205816GEN WR01X205717GEN WR13M23118GEN WR02X927518GEN WR02X927619GEN WR02X927720SCREW HANDLE SS21GEN WR2M359122SHIM DOOR STOP WHITE23GEN WR24M24125GEN WR01X206026GEN WR01X206126GEN WR01X206227GEN WR13X074927GEN WR2M356028SHIM CENTER HINGE29GEN WR02X928030GEN WR2M356134GEN WR13X071134GEN WR02X928236GEN WR3M49437GEN WR3M46537GEN WR2M335538COVER, TOP HINGE (WH)40GEN WR2M356841GEN WR2M356943GEN WR2M325199GEN WR22X0499109WR01X21159 GE Button Plug150GEN WR01X2054900GEN WR78M5741910GEN WR78M5742920PLUG TOP DOOR WH