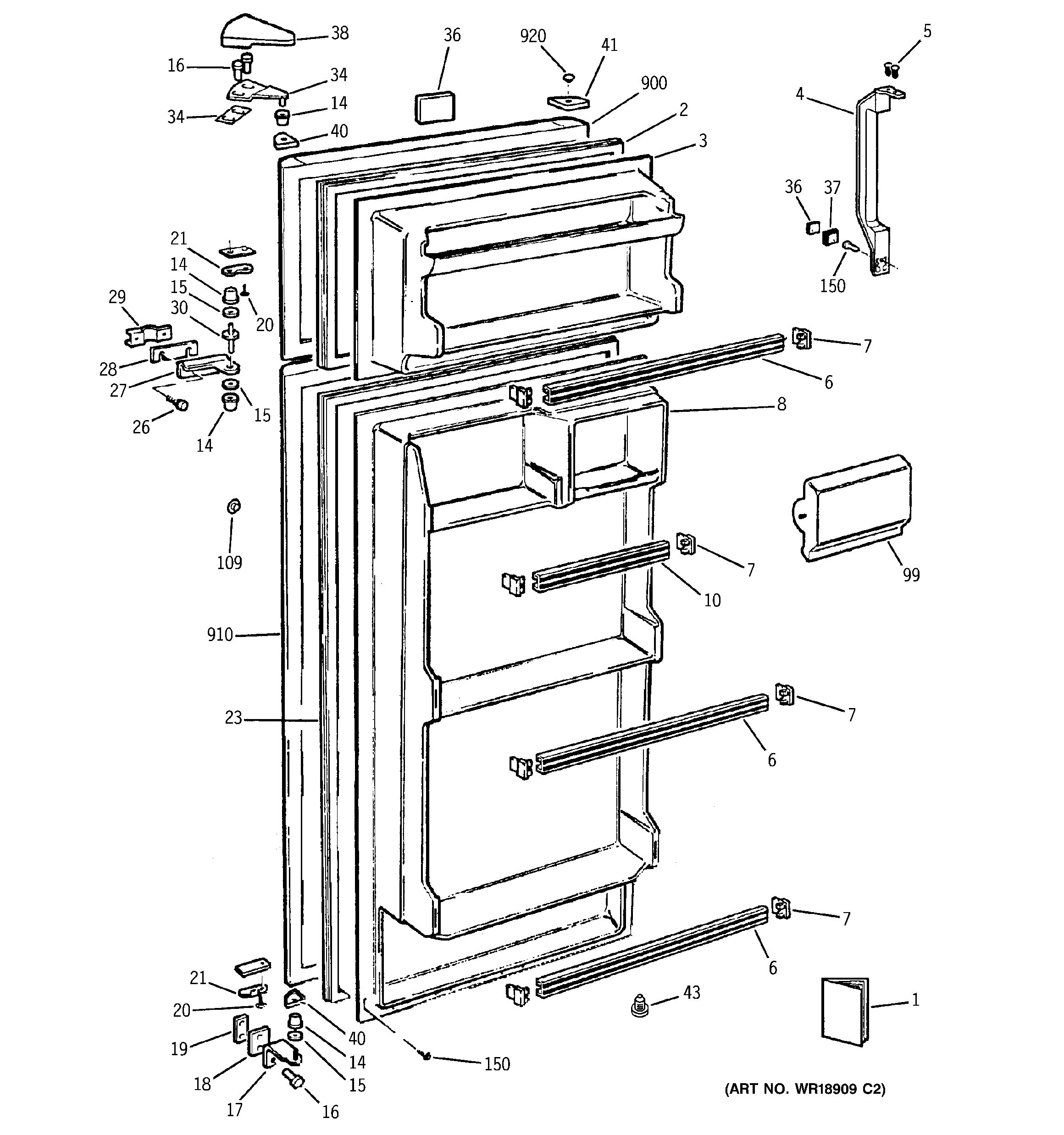
GTS12BBMBRCC DOORSadmin2025-04-26T08:40:00+00:00GTS12BBMBRCC DOORS ProductsPositionProduct1GEN 31-470191GEN 49 - 600992GEN WR24M2403GEN WR77M4404GEN WR12M9735GEN WR1M7266GEN WR17X38677GEN WR02X92738GEN WR77M44110GEN WR17X386814GEN WR02X927415GEN WR01X206016GEN WR01X570517GEN WR13M23118GEN WR02X927518GEN WR02X927619GEN WR02X927720SCREW HANDLE SS21GEN WR13M23223GEN WR24M24126GEN WR01X1008827GEN WR2M356027GEN WR13X074928SHIM CENTER HINGE29GEN WR02X928030GEN WR2M356134GEN WR13X071134GEN WR02X928236GEN WR3M49537GEN WR2M359437GEN WR3M49638GEN WR2M359240GEN WR2M358941GEN WR2M359043GEN WR2M359399GEN WR22X0499109GEN WR2M3577150#8X1/2 PAN HD PHIL SCREW900GEN WR78M5747910GEN WR78M5748920GEN WR2M3575