GU980SCGB3 04 – PUMP AND SPRAYARMadmin2025-04-26T11:38:46+00:00GU980SCGB3 04 – PUMP AND SPRAYARM
Products
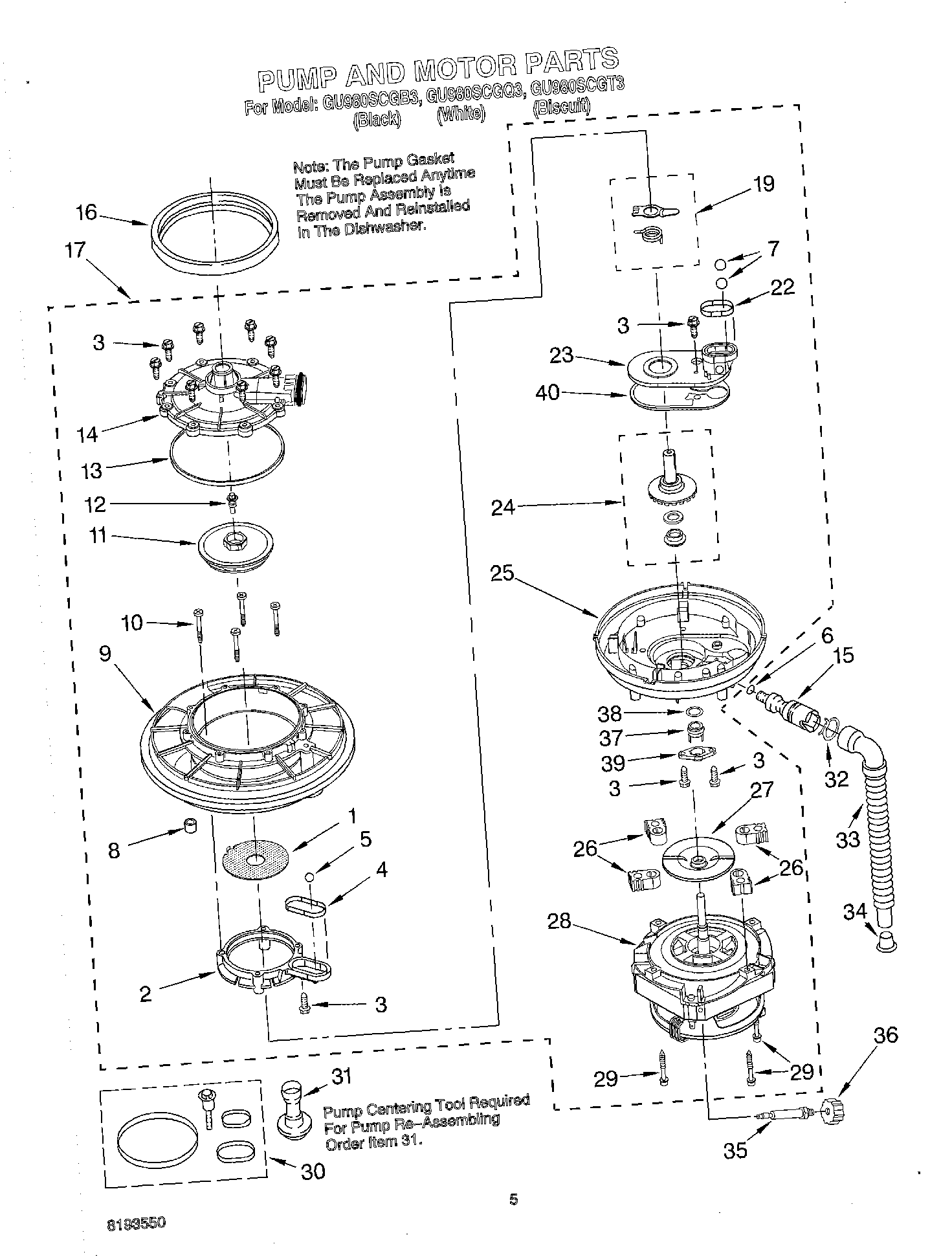
| Position | Product |
|---|
| 1 | Plate, Perforated (Also Order Item 30) See Note A. |
| 2 | Base, Inlet (Includes Items 1 & 5) (Also Order Item 30) See Note A. |
| 3 | WP9741232 Whirlpool Dishwasher Screw |
| 4 | WP302710 Whirlpool Dishwasher Ring Seal |
| 5 | Ball, Check |
| 6 | ``O`` Ring |
| 7 | WP719929 Whirlpool Dishwasher Check Ball |
| 8 | Seal, Pump base |
| 9 | Filter Assembly (Includes Items 12, 13 & 22) See Note A. |
| 10 | Screw |
| 12 | WP3371152 Whirlpool Dishwasher Screw |
| 13 | WP302711 Whirlpool Dishwasher Ring Seal |
| 14 | 8194582 Whirlpool Dishwasher Outlet |
| 15 | 675238 Whirlpool Check Valve |
| 16 | 717000 Whirlpool Dishwasher Gasket |
| 17 | W10428168 Whirlpool Dishwasher Pump and Motor |
| 19 | 675806 Whirlpool Dishwasher Pump Impeller and Seal Kit |
| 22 | Seal, Drain Cover |
| 23 | Cover, Drain (Also Order Item 30 & 40) See Note A. |
| 24 | WP8274950 Whirlpool Dishwasher Impeller |
| 25 | Base, Pump (Also Order Item 30) See Note A. |
| 26 | WP3367197 Whirlpool Dishwasher Support |
| 27 | W10909679 Whirlpool Dishwasher Slinger |
| 28 | Motor & Fan (Assembly) (Includes Item 27) (Also Order Item 30) See Note A. |
| 29 | Screw (4) |
| 30 | Pump Seal Kit (Includes Items 4, 12, 13 & 22) |
| 31 | Tool, Pump Centering |
| 32 | WP356138 Whirlpool Hose Clamp |
| 33 | WP3374077 Whirlpool Dishwasher Drain Hose |
| 34 | 3371748 Whirlpool Dishwasher Cap |
| 35 | Shaft, Absorber |
| 36 | Weight, Absorber |
| 37 | Thermistor |
| 38 | WP3376723 Whirlpool Dishwasher Seal |
| 39 | WP3376358 Whirlpool Dishwasher Retainer |
| 40 | WP9740674 Whirlpool Dishwasher Gasket |