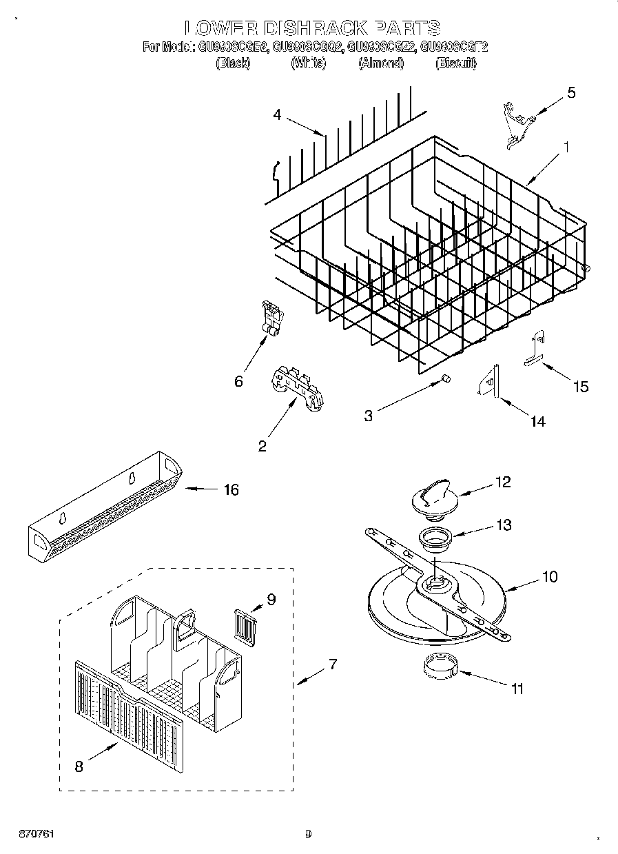
GU980SCGQ2 06 – LOWER DISHRACKadmin2025-04-26T11:41:05+00:00GU980SCGQ2 06 – LOWER DISHRACK ProductsPositionProduct1W10311986 Whirlpool Dishwasher Lower Rack2WP3376961 Whirlpool Dishwasher Wheel3WP3385142 Whirlpool Dishwasher Bumper4W10728160 Whirlpool Tine Assembly5Pivot, Folddown6WP3368629 Whirlpool Dishwasher Retainer7Silverware Basket Assembly8Door, Silverware Basket9Lid, Silverware Basket10WP8268874 Whirlpool Dishwasher Spray Arm11WP3376846 Whirlpool Seal12WP9742945 Whirlpool Spray Arm Nut13WP9742946 Whirlpool Dishwasher Spray Arm Bearing14Clip, Silverware Basket (Left)15Clip, Silverware Basket (Right)16Basket, Utensil