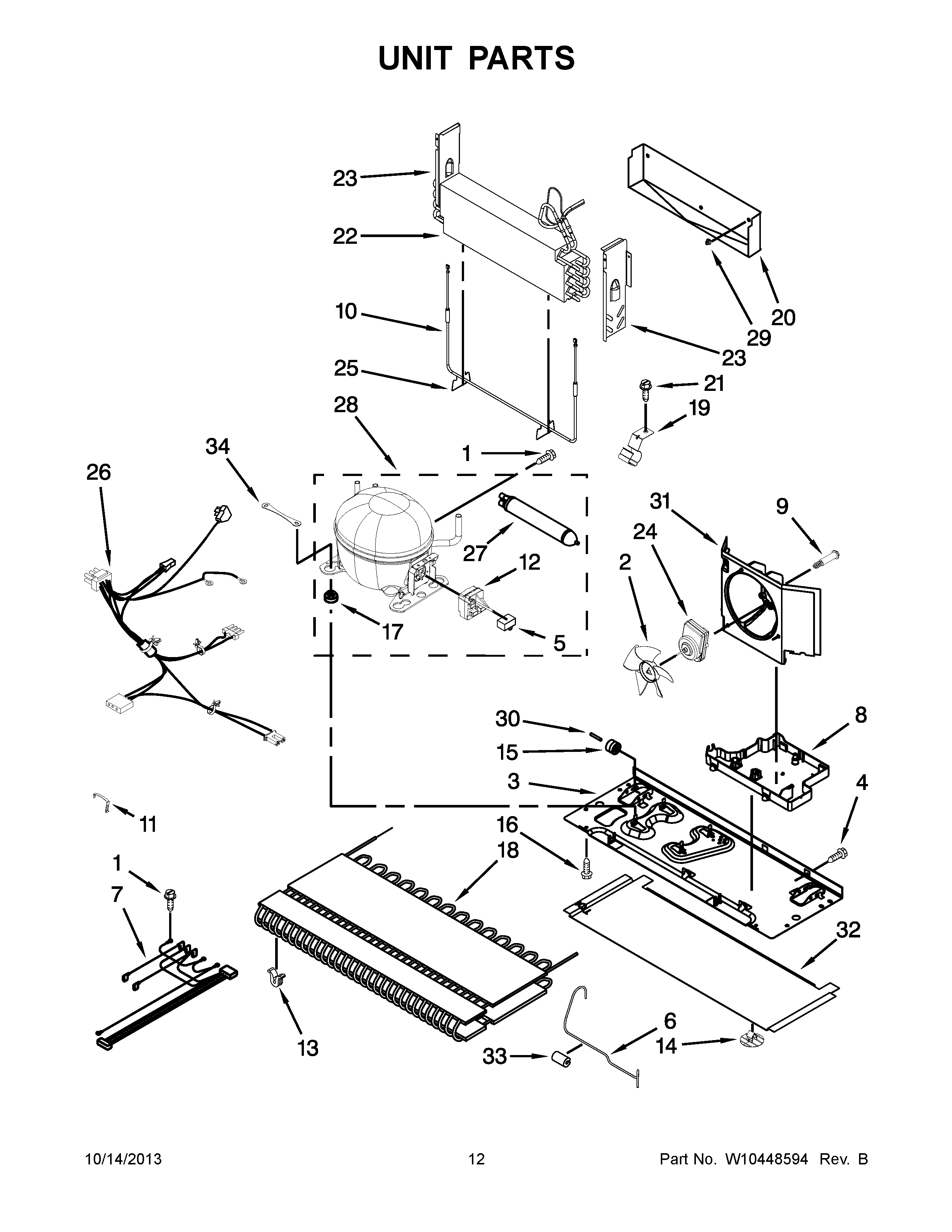
GX5FHTXVY07 07 – UNIT PARTS

GX5FHTXVY07 07 – UNIT PARTS

Products

PositionProduct
NI978030 Whirlpool Refrigerator Valve
NICABINET (NOT A SERVICEABLE PART)
NIVALVE, ACCESS (1/2``)
NIWP978025 Whirlpool Refrigerator Valve
NI978027 Whirlpool Refrigerator Primary Valve
NI978026 Whirlpool Refrigerator Primary Valve
NI876764 Whirlpool Refrigerator Primary Valve
NIVALVE, ACCESS (5/8``)
112992301 Whirlpool Refrigerator Screw
2WP12825803 Whirlpool Refrigerator Fan Blade
3W11727651 Whirlpool Plate Assembly
467006425 Whirlpool Refrigerator Screw
5WPW10662129 Whirlpool Refrigerator Run Capacitor
6WPW10233569 Whirlpool Refrigerator Tube
7W11260592 Whirlpool Refrigerator Wire Harness
8WPW10655368 Whirlpool Refrigerator Drip Pan
9W10829281 Whirlpool Refrigerator Screw
10W10825088 Whirlpool Refrigerator Defrost Heater W10836434
11W11092534 Whirlpool Refrigerator Clip
12W10361443 Whirlpool Refrigerator Start Device
13WPW10137529 Whirlpool Refrigerator Grommet
14W10206339 Whirlpool Fastener
15WP67005149 Whirlpool Roller
16Screw
17WPW10169124 Whirlpool Refrigerator Grommet
18WPW10346415 Whirlpool Refrigerator Condenser
19W10281329 Whirlpool Clamp
20W11547653 Whirlpool Refrigerator Drip Tray
21WP33001882 Whirlpool Screw
22W11256565 Whirlpool Refrigerator Evaporator
23Dam (Left Side)
23Dam (Right Side)
24W11613295 Whirlpool Condenser Motor
25W11673433 Whirlpool Clip
26WPW10679216 Whirlpool Refrigerator Wire Harness
27WPW10143759 Whirlpool Dryer Filter
28W10233960 Whirlpool Refrigerator Compressor
29CLIP, EVAP (2)
3067006434 Whirlpool Axle Pin
31W11556315 Whirlpool Shroud
32EXTENSION-BASEPAN
33W10852725 Whirlpool Refrigerator Grommet
34W10236396 Whirlpool Refrigerator Strap