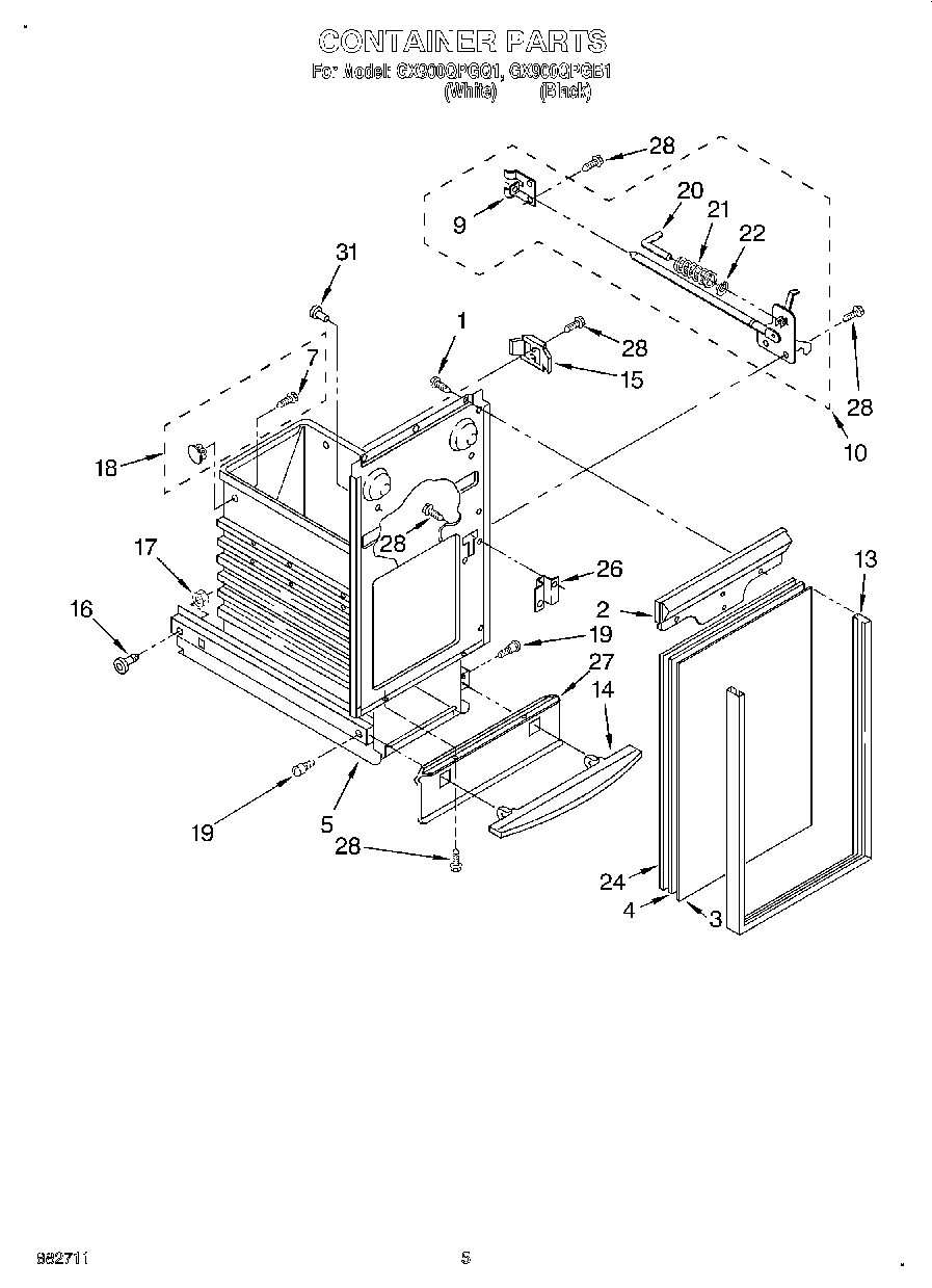
GX900QPGB1 04 – CONTAINERadmin2025-04-26T12:08:25+00:00GX900QPGB1 04 – CONTAINER ProductsPositionProduct1WP489069 Whirlpool Compactor Screw2WP608732 Whirlpool Compactor Handle3Panel, Container Front (Black & White)3Panel, Container Front (Almond & Black)4Spacer, Center Panel5Container Assembly9WP776395 Whirlpool Compactor Guide10675379 Whirlpool Compactor Drawer Latch13Trim, Container13Trim, Container (Front)14W11679165 Whirlpool Foot Pedal14WP9871031 Whirlpool Compactor Foot Pedal159871125 Whirlpool Compactor Actuator16WP9871602 Whirlpool Compactor Bearing17WP776356 Whirlpool Compactor Nut18RETAINER, BAG19WP780263 Whirlpool Compactor Screw20Pin21775736 Whirlpool Compactor Spring22Ring, ``E``24Spacer, Back Panel26775665 Whirlpool Compactor Plate Latch27WP777328 Whirlpool Compactor Guard27W10917704 Whirlpool Compactor Guard28WP3196175 Whirlpool Screw31Bumper, Container (2)