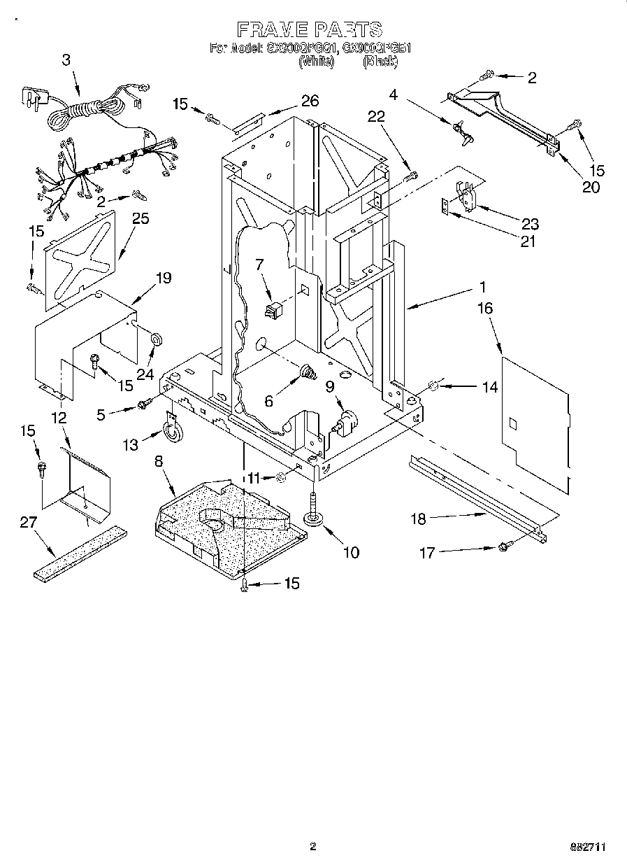
GX900QPGQ1 02 – FRAME