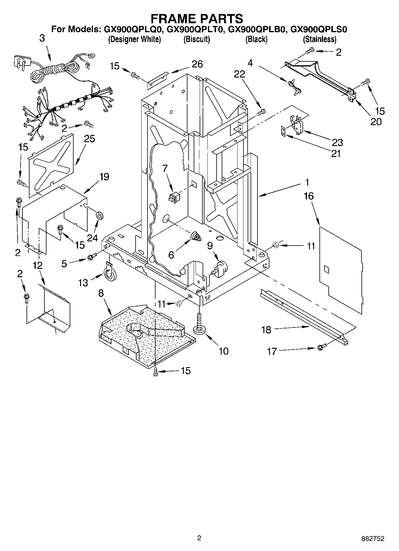
GX900QPLQ0 02 – FRAME