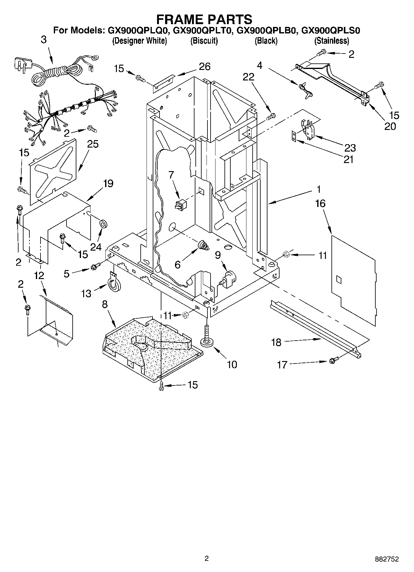
GX900QPLT0 02 – FRAME