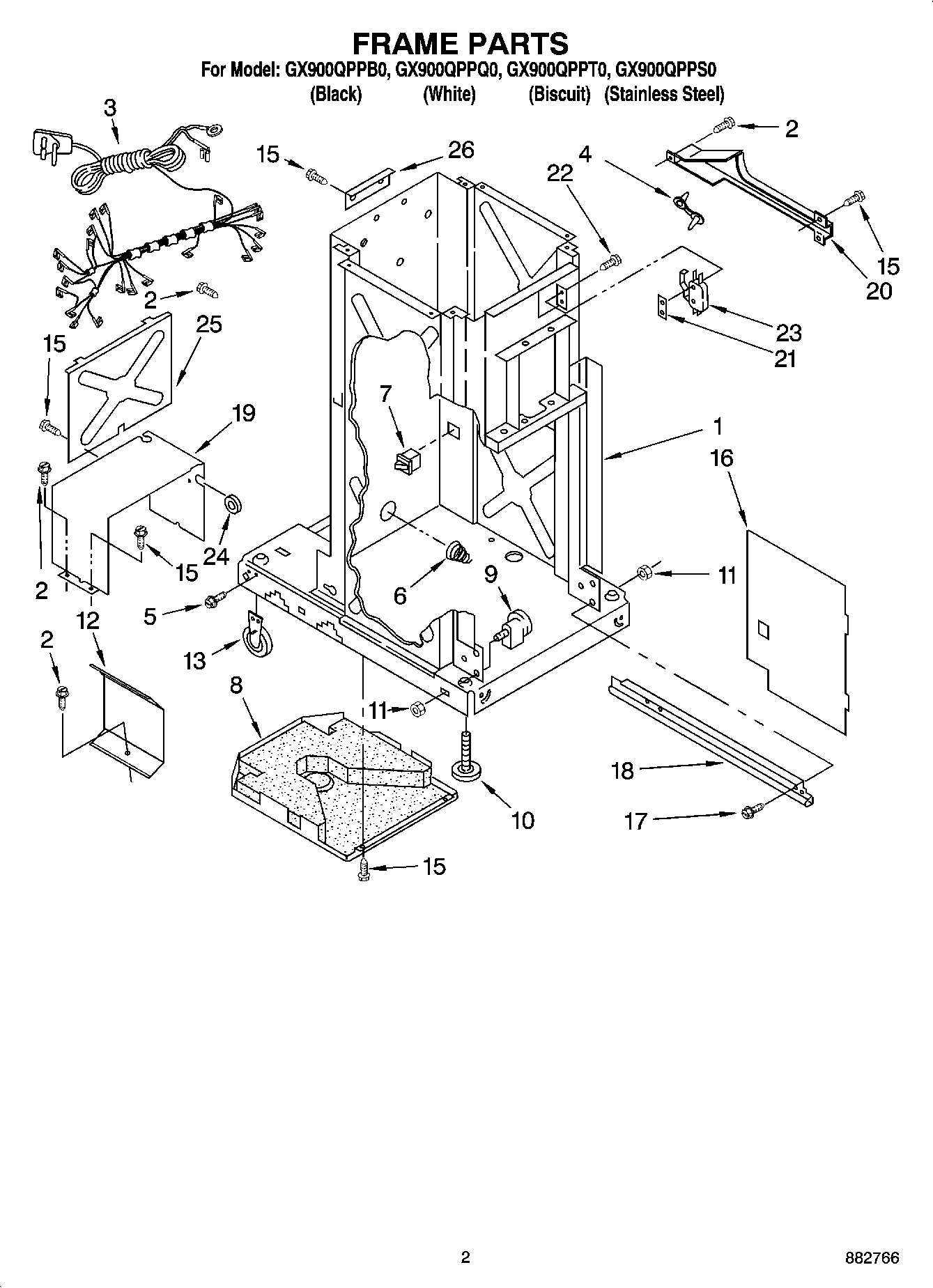
GX900QPPS0 02 – FRAME PARTS