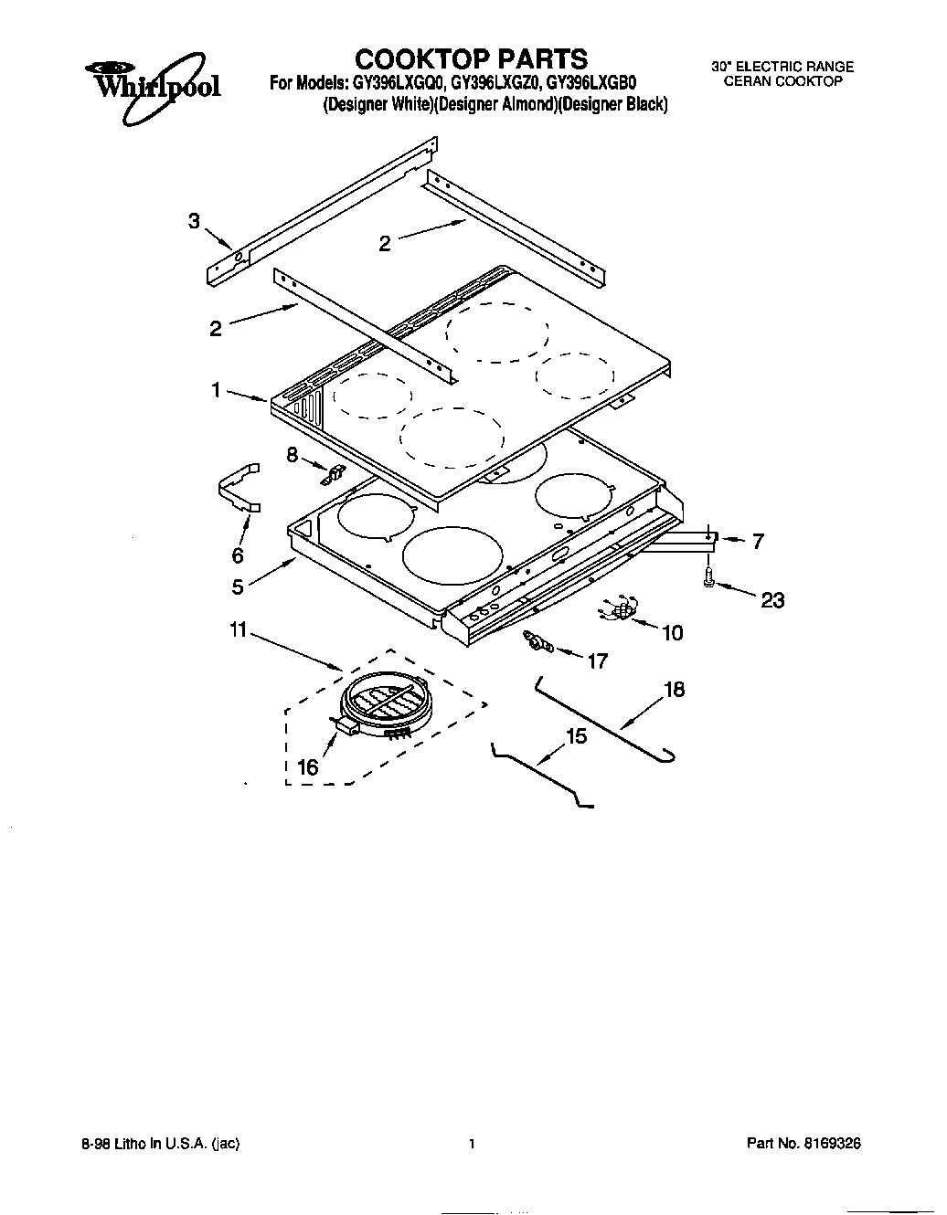
GY396LXGQ0 01 – COOKTOP