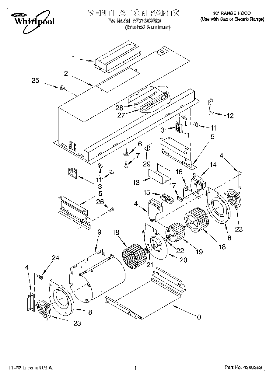
GZ7730XGS0 01 – VENTILATION