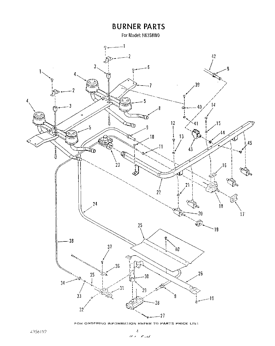
H6358^0 04 – BURNER