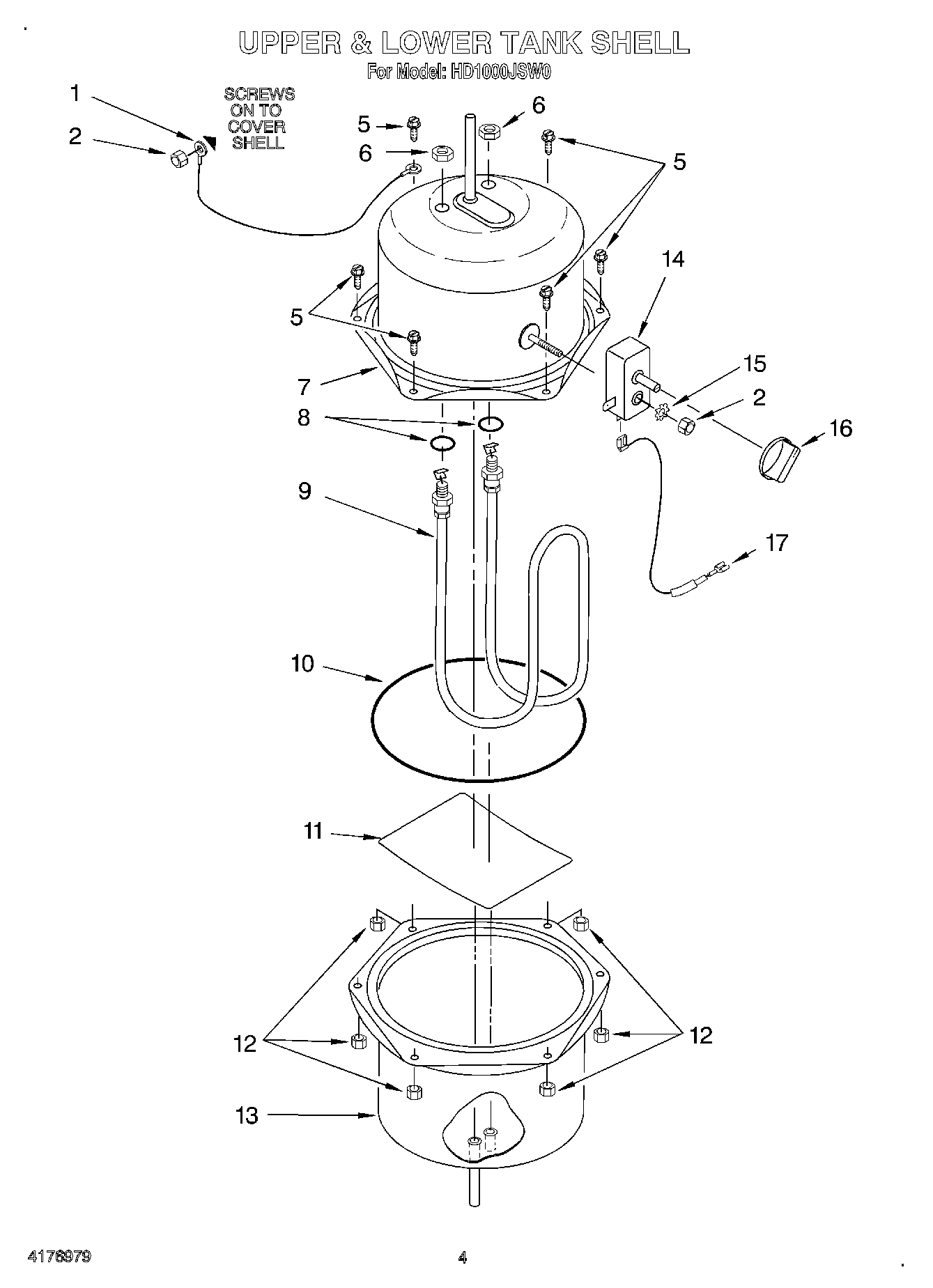
HD1000JSW0 03 – UPPER AND LOWER TANK SHELL