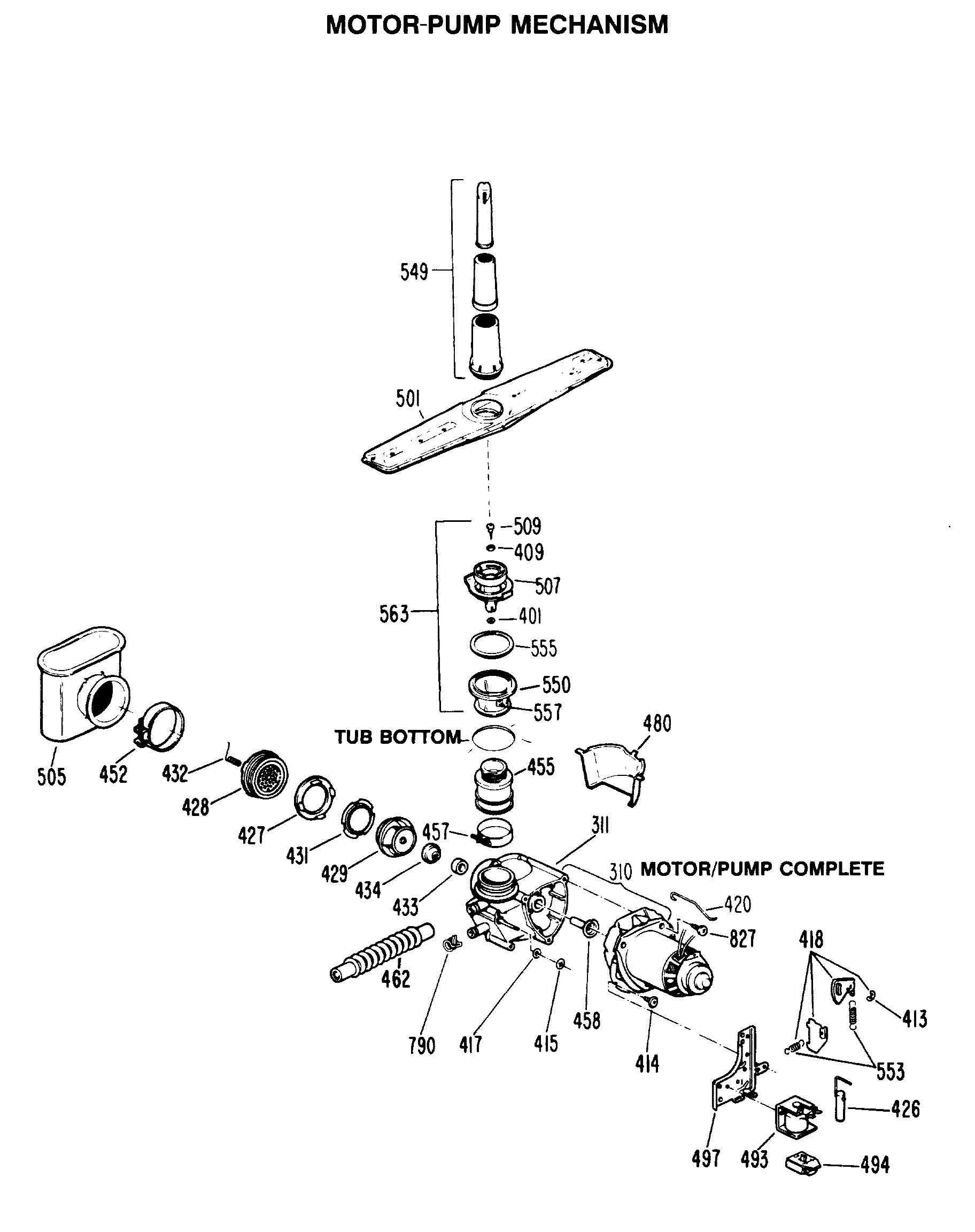
HDA200S-45 MOTOR-PUMP MECHANISMadmin2025-04-26T08:41:21+00:00HDA200S-45 MOTOR-PUMP MECHANISM ProductsPositionProduct310WD26X10013 GE Dishwasher Motor and Pump Assembly311GEN WD19X0042401WD3X767 GE Dishwasher Washer409GEN WD03X0766413WD3X487D GE Dishwasher Retainer Package414GEN WD02X5183415WR2X7054 GE Refrigerator Push-On Nut417WD8X181 GE Dishwasher Pump Gasket418GEN WD35X0192420GEN WD01X1455426ARMATURE&LNK427GEN WD12X0354428GEN WD12X0378429IMPELLER ASM431GEN WD01X1341432GEN WD01X1339433GEN WD19X0051434GEN WD19X0052452WD1X1392 GE Dishwasher Sump Clamp455GEN WD18X0206457WD1X1376 GE Dishwasher Clamp458GEN WD12X0106462WD24X10014 GE Dishwasher Drain Hose480GEN WD12X0339493WD21X802 GE Dishwasher Drain Solenoid494WD1X1459 GE Dishwasher Insulation Housing497GEN WD01X1439505WD12X418 GE Dishwasher Sump Cap507GEN WD22X0121509GEN WD03X0765549GEN WD22X0124550GEN NO PART#553WD3X721 GE Dishwasher Spring Set555WD35X10011 GE Dishwasher Spray Arm Assembly557CHECK VALVE563GEN WD22X0126790WH1X2036 GE UNIX Clamp827GEN WD02X0425