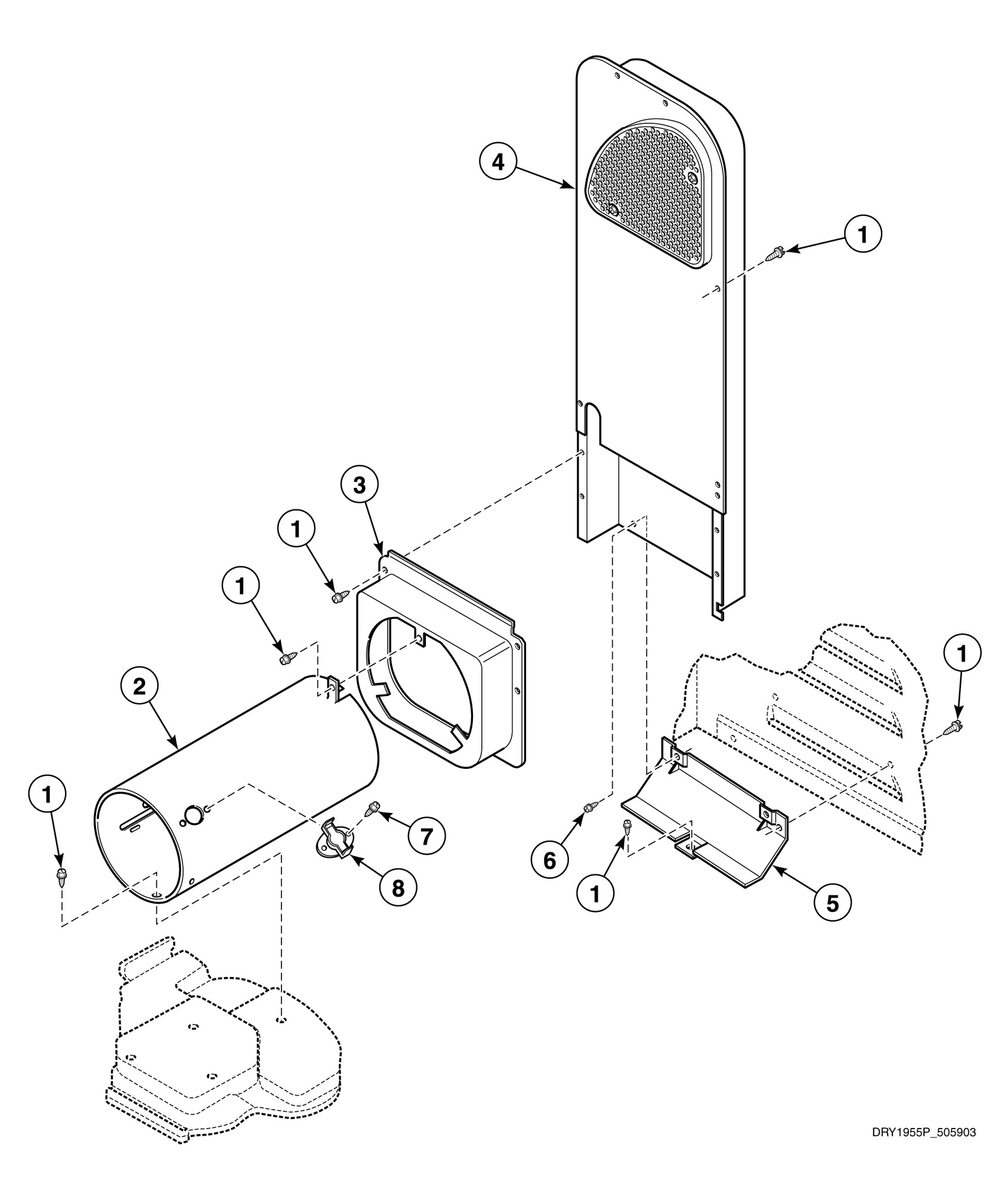
HG2260 Heater Duct Assembly
Products
| Position | Product |
|---|---|
| 1 | Screw |
| 2 | Wire Harness Assembly |
| 3 | Heat Duct Shroud |
| 4 | Heater Duct and Screw Assembly |
| 5 | Heat Duct Shield |
| 6 | Screw |
| 7 | Screw |
| 8 | Thermostat and Plate Kit |
HG2260 Heater Duct Assembly
| Position | Product |
|---|---|
| 1 | Screw |
| 2 | Wire Harness Assembly |
| 3 | Heat Duct Shroud |
| 4 | Heater Duct and Screw Assembly |
| 5 | Heat Duct Shield |
| 6 | Screw |
| 7 | Screw |
| 8 | Thermostat and Plate Kit |