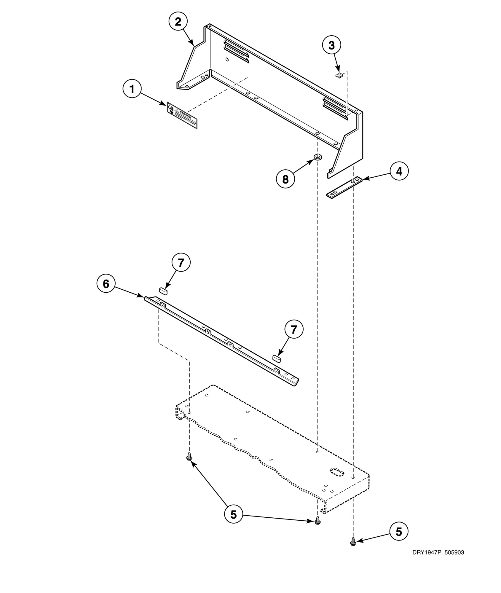
HG2490 Control Hood
Products
| Position | Product |
|---|---|
| NA | NOT ON YOUR MODEL |
| 1 | Disconnect Power Warning Label |
| 3 | Nut |
| 5 | Screw |
| 7 | Wire Harness Assembly |
HG2490 Control Hood
| Position | Product |
|---|---|
| NA | NOT ON YOUR MODEL |
| 1 | Disconnect Power Warning Label |
| 3 | Nut |
| 5 | Screw |
| 7 | Wire Harness Assembly |