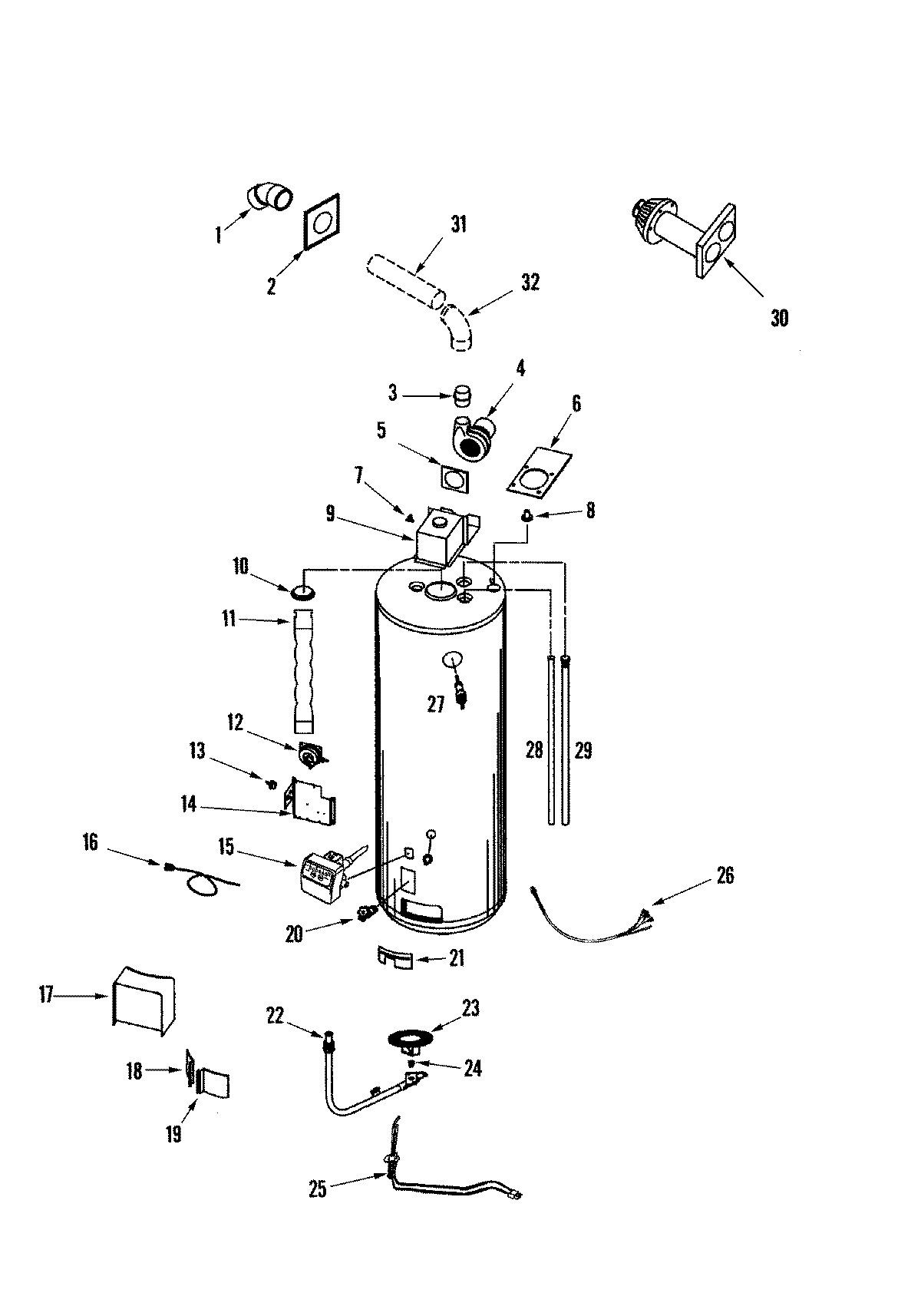
HJ675NRPDT 01 – BODYadmin2025-04-26T09:26:08+00:00HJ675NRPDT 01 – BODY ProductsPositionProduct1MAY 660012672MAY 660013433MAY 660012894MAY 660014275MAY 660012916MAY 660013127MAY 660013428MAY 660013009MAY 6600134010MAY 6600124110MAY 6600123710MAY 6600123811MAY 6600133712MAY 6600131313MAY 6600124714MAY 6600129515MAY 6600152716MAY 6600137217MAY 6600131418MAY 6600120619MAY 6600124219MAY 6600120520MAY 6600102120MAY 6600124621MAY 6600102922MAY 6600166823MAY 6600135924MAY 6600117924MAY 6600116325MAY 6600152426MAY 6600152627MAY 6600121628MAY 6600167229MAY 6600102030MAY 6600134431MAY 6600126432MAY 6600126533MAY 66001665