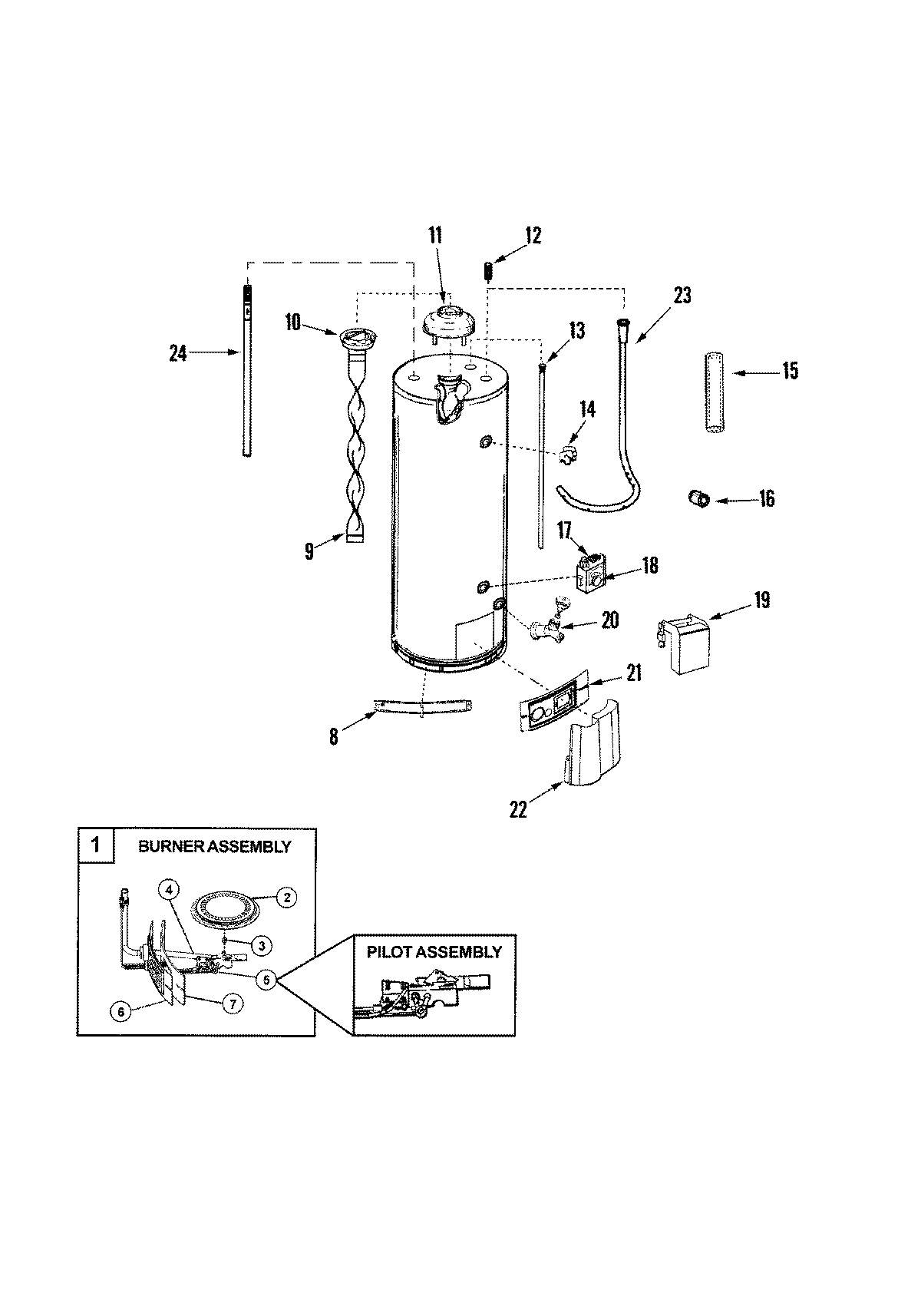
HR640HOCT 01 – BODYadmin2025-04-26T09:34:51+00:00HR640HOCT 01 – BODY ProductsPositionProduct1MAY 660016271MAY 660016262MAY 660015113MAY 660015154MAY 660015815MAY 660015166MAY 660014997MAY 660015008MAY 660015039MAY 6600150110MAY 6600118711MAY 6600150212MAY 6600175813MAY 6600172514MAY 6600176215MAY 6600175516MAY 6600170917MAY 6600150718MAY 6600157619MAY 6600166720MAY 6600124620MAY 6600102121MAY 6600150922MAY 6600175923MAY 6600164623MAY 6600181224MAY 66001816