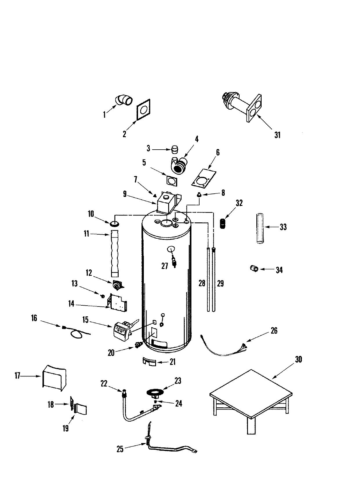
HR650CBPDT 01 – BODYadmin2025-04-26T09:36:58+00:00HR650CBPDT 01 – BODY ProductsPositionProduct1MAY 660012552MAY 660013433MAY 660012894MAY 660012905MAY 660012916MAY 660013127MAY 660013428MAY 660013009MAY 6600129211MAY 6600133112MAY 6600133213MAY 6600124714MAY 6600129515MAY 6600152816MAY 6600137217MAY 6600131418MAY 6600120619MAY 6600124219MAY 6600120520MAY 6600118120MAY 6600102121MAY 6600102922MAY 6600166023MAY 6600102724MAY 6600117124MAY 6600104125MAY 6600152526MAY 6600152627MAY 6600121628MAY 6600167129MAY 6600118930MAY 6600124331MAY 6600134432MAY 6600170733MAY 6600175534MAY 6600170935MAY 66001561