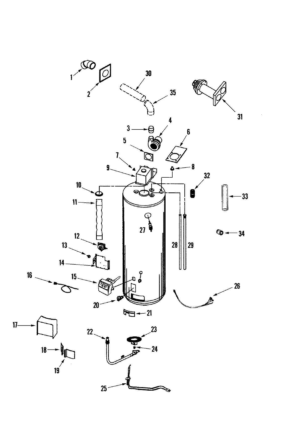
HR675CRPDT 01 – BODYadmin2025-04-26T09:37:05+00:00HR675CRPDT 01 – BODY ProductsPositionProduct1MAY 660012672MAY 660013433MAY 660012894MAY 660014275MAY 660012916MAY 660013127MAY 660013428MAY 660013009MAY 6600134010MAY 6600123710MAY 6600123810MAY 6600124111MAY 6600133712MAY 6600131313MAY 6600124714MAY 6600129515MAY 6600152816MAY 6600137217MAY 6600131418MAY 6600120619MAY 6600120519MAY 6600124220MAY 6600124620MAY 6600102121MAY 6600102922MAY 6600166923MAY 6600136324MAY 6600117724MAY 6600117825MAY 6600152426MAY 6600152627MAY 6600121628MAY 6600167229MAY 6600102030MAY 6600126431MAY 6600134432MAY 6600170733MAY 6600175534MAY 6600170935MAY 6600126536MAY 66001561