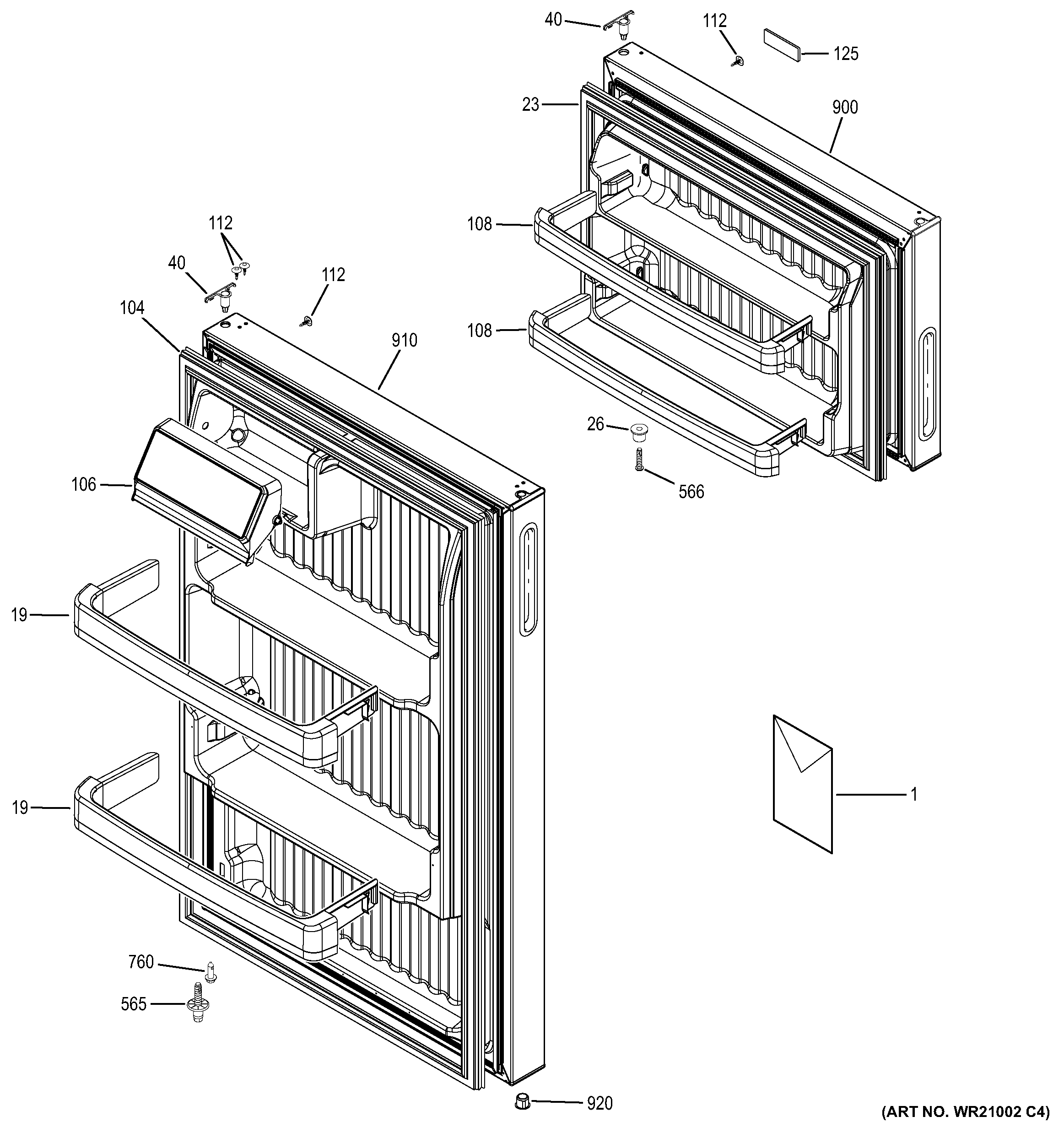
HTR16BBEMRCC DOORS