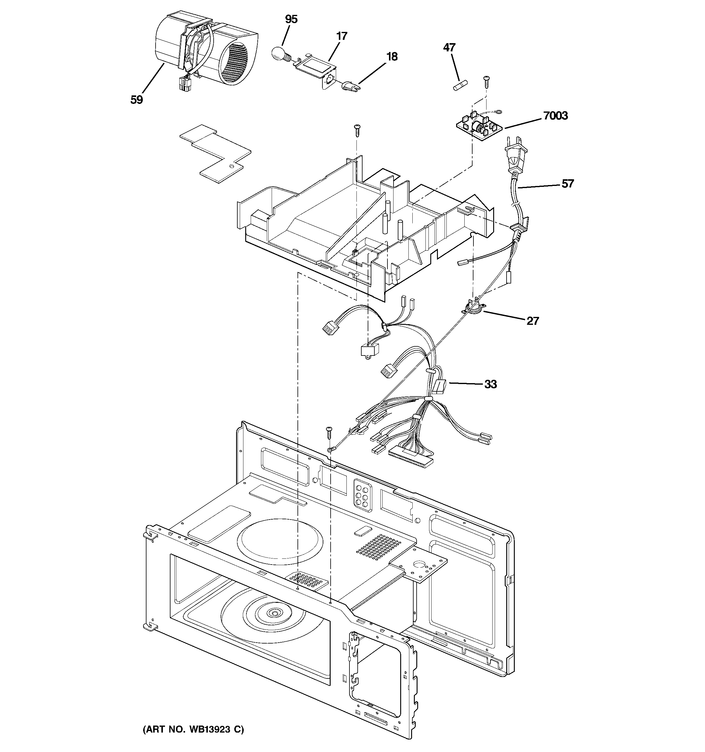
HVM1540DM1WW INTERIOR PARTS (2)