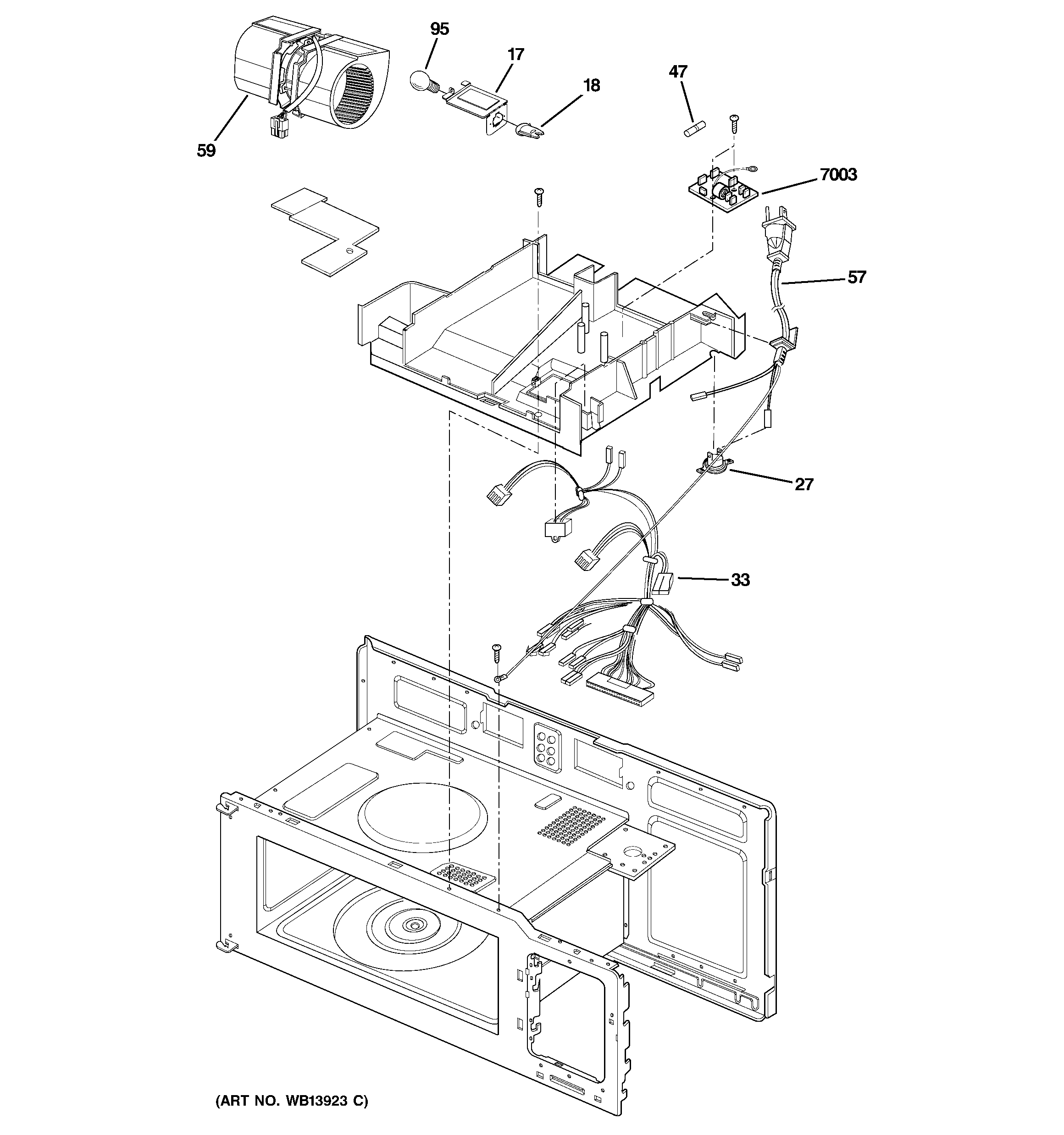
HVM1540SM1SS INTERIOR PARTS (2)