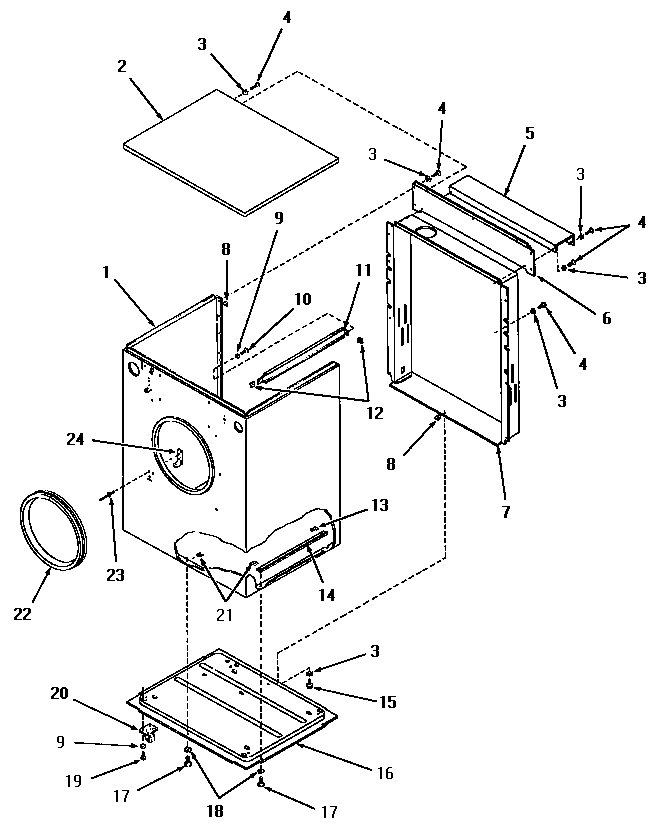
HZ1070 01 – CABINET AND BASEadmin2025-04-26T09:22:44+00:00HZ1070 01 – CABINET AND BASE ProductsPositionProduct1MAY M540231A1MAY M540231W1MAY M540231H2MAY M540066H2MAY M540066A2MAY M540066W3MAY Y202784MAY M5400045MAY M540179H5MAY M540179W5MAY M540179A6MAY M540178H6MAY M540178W6MAY M540178A7MAY M540176W7MAY M540176H7MAY M540176A8MAY 540389MAY 0381510MAY M54001111MAY M54001812MAY M54000914MAY M54003415MAY 5215016MAY M54010617MAY M54002618MAY 0243119MAY 2053020MAY M54022621MAY M54003322MAY M54004223MAY M54011724MAY M540078