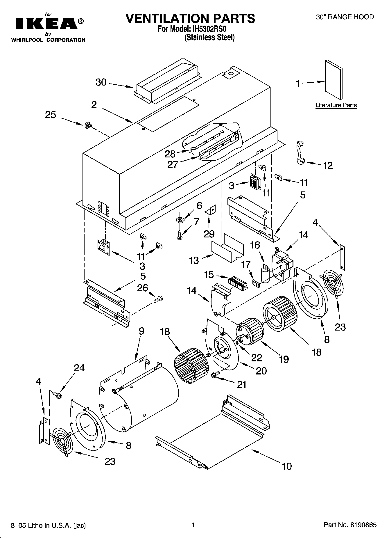
IH5302RS0 01 – VENTILATION PARTSadmin2025-04-26T11:36:55+00:00IH5302RS0 01 – VENTILATION PARTS
Products
| Position | Product |
|---|
| 1 | Instructions, Installation |
| 1 | Wiring Diagram |
| 2 | Hood, Canopy Non-serviceable |
| 3 | Support, Canopy (2) |
| 4 | Bracket, Blower (Right Side) |
| 4 | Bracket, Blower (Left Side) |
| 5 | Support, Housing Housing (Right Side) |
| 5 | Support, Housing Housing (Left Side) |
| 6 | Washer |
| 7 | Screw |
| 8 | Endcap, Blower (Right) |
| 8 | Endcap, Blower (Left) |
| 9 | Housing, Blower |
| 10 | Support, Housing |
| 11 | Bushing (4) |
| 12 | Relief, Strain |
| 13 | Plate, Mounting |
| 14 | Box, Electric |
| 14 | Cover, Box |
| 15 | Terminal |
| 16 | Capacitor |
| 17 | Block, Capacitor |
| 18 | Wheel, Blower (Right Side) |
| 18 | Wheel, Blower (Left Side) |
| 19 | Motor |
| 20 | Plate, Motor |
| 21 | 4344826 Whirlpool Refrigerator Screw |
| 22 | Washer (3) |
| 23 | Grille, Blower (2) |
| 24 | Screw 6 x 10 (2) |
| 25 | Nut |
| 26 | Pin |
| 27 | Bracket, Filter |
| 28 | Spring, Filter (2) |
| 29 | Bracket (6) |
| 30 | Damper |