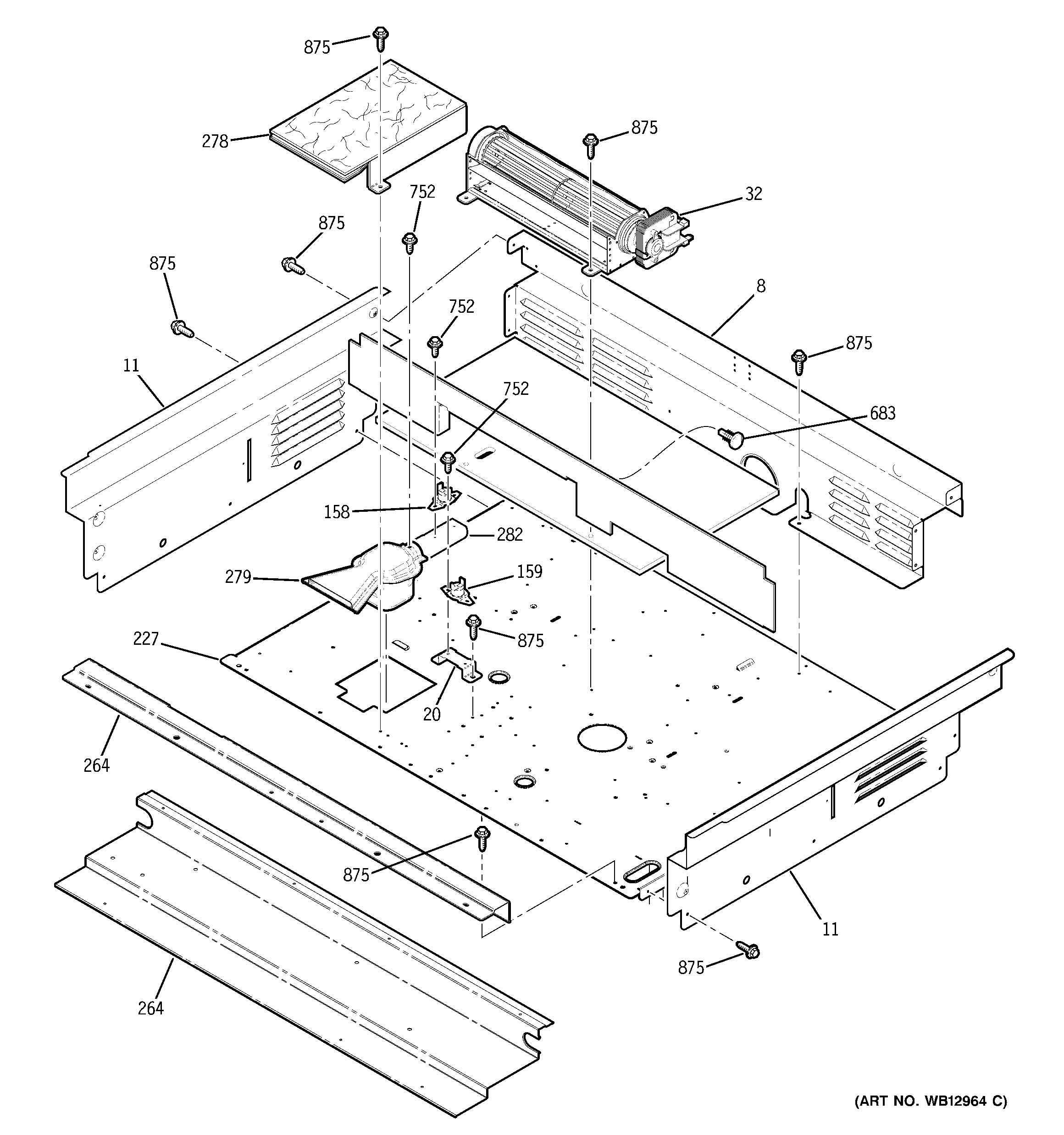
J2C968CEK3CC COOLING FAN