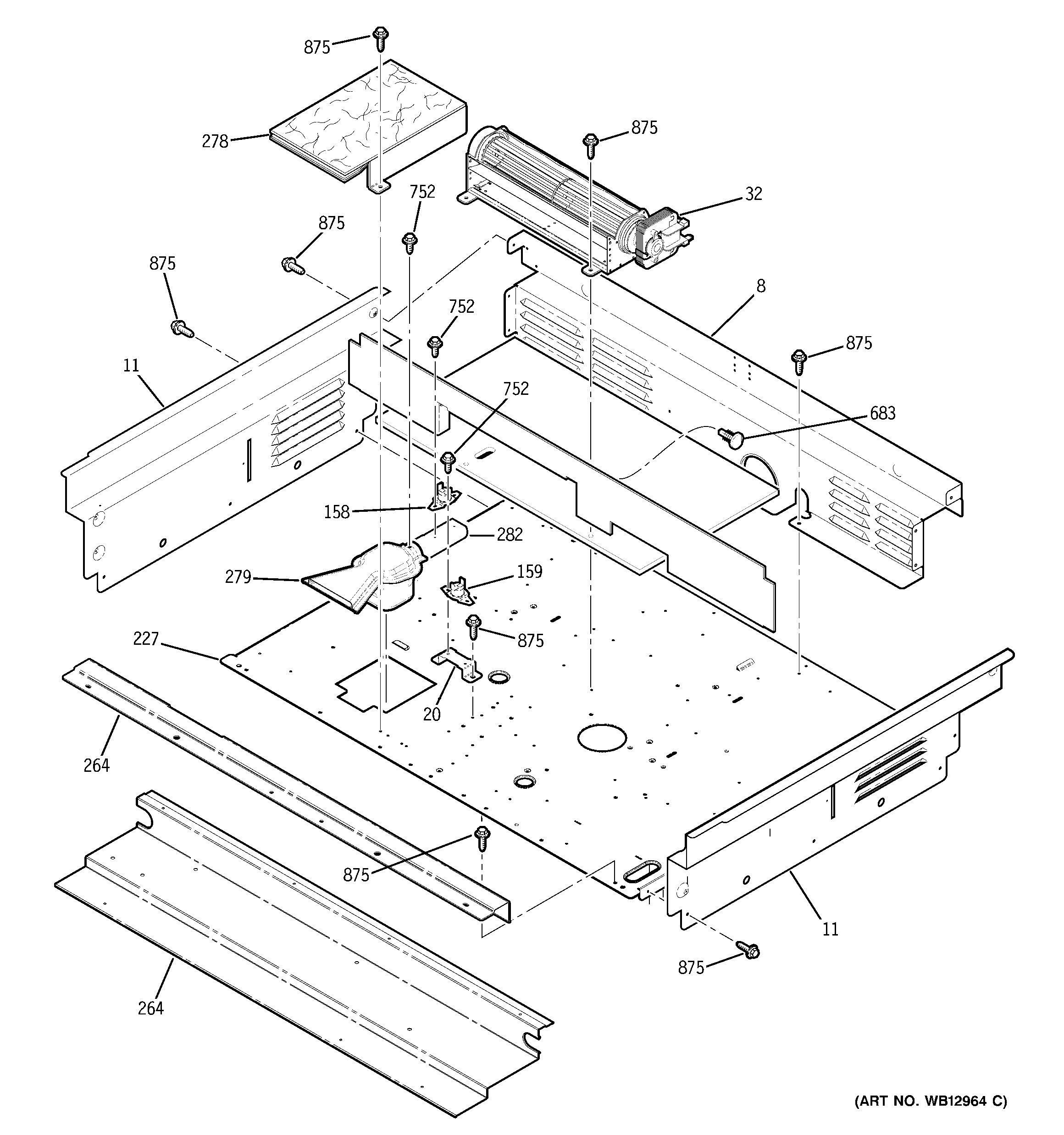
J2S968KEK1CC COOLING FAN