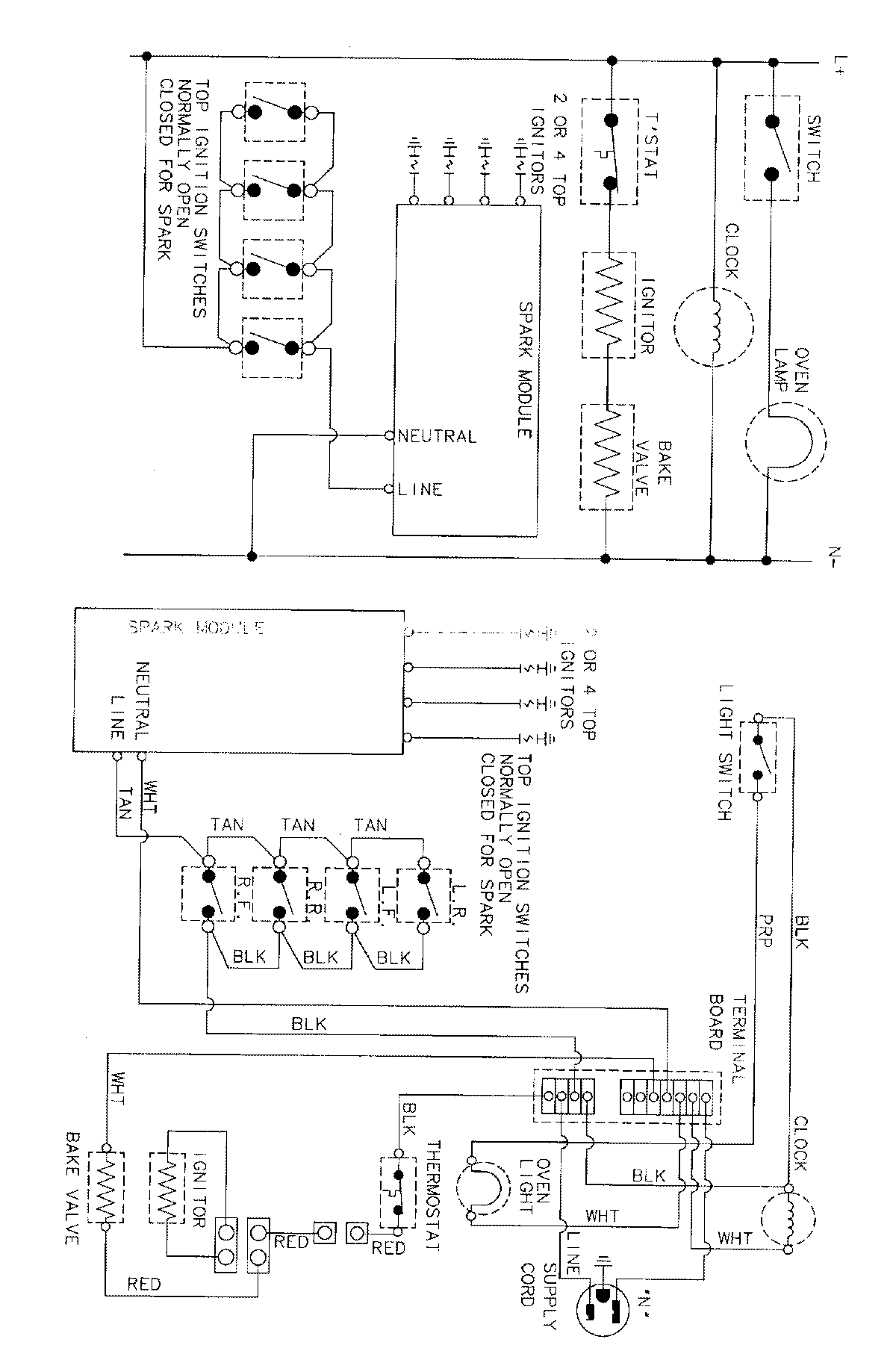
J31111WAV 07 – WIRING INFORMATIONadmin2025-04-26T09:15:06+00:00J31111WAV 07 – WIRING INFORMATION ProductsPositionProductNIMAY 15001767