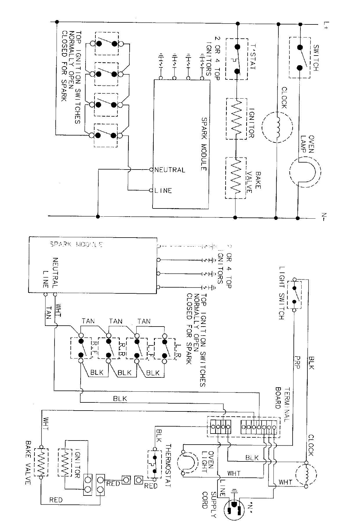
J31213WAV 07 – WIRING INFORMATIONadmin2025-04-26T09:14:15+00:00J31213WAV 07 – WIRING INFORMATION ProductsPositionProductNIMAY 15001767