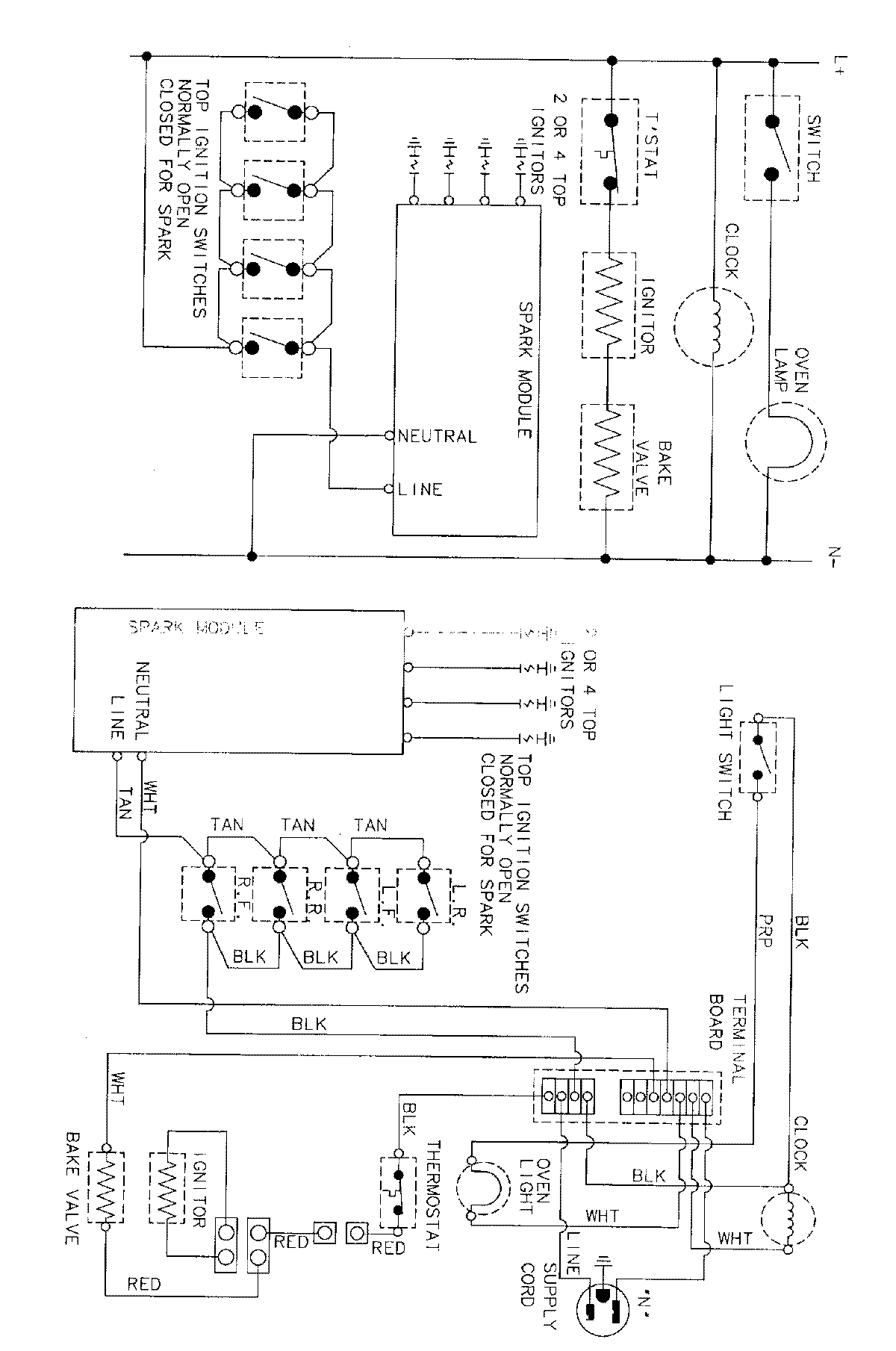
J32111WAV 07 – WIRING INFORMATIONadmin2025-04-26T09:13:34+00:00J32111WAV 07 – WIRING INFORMATION ProductsPositionProductNIMAY 15001767