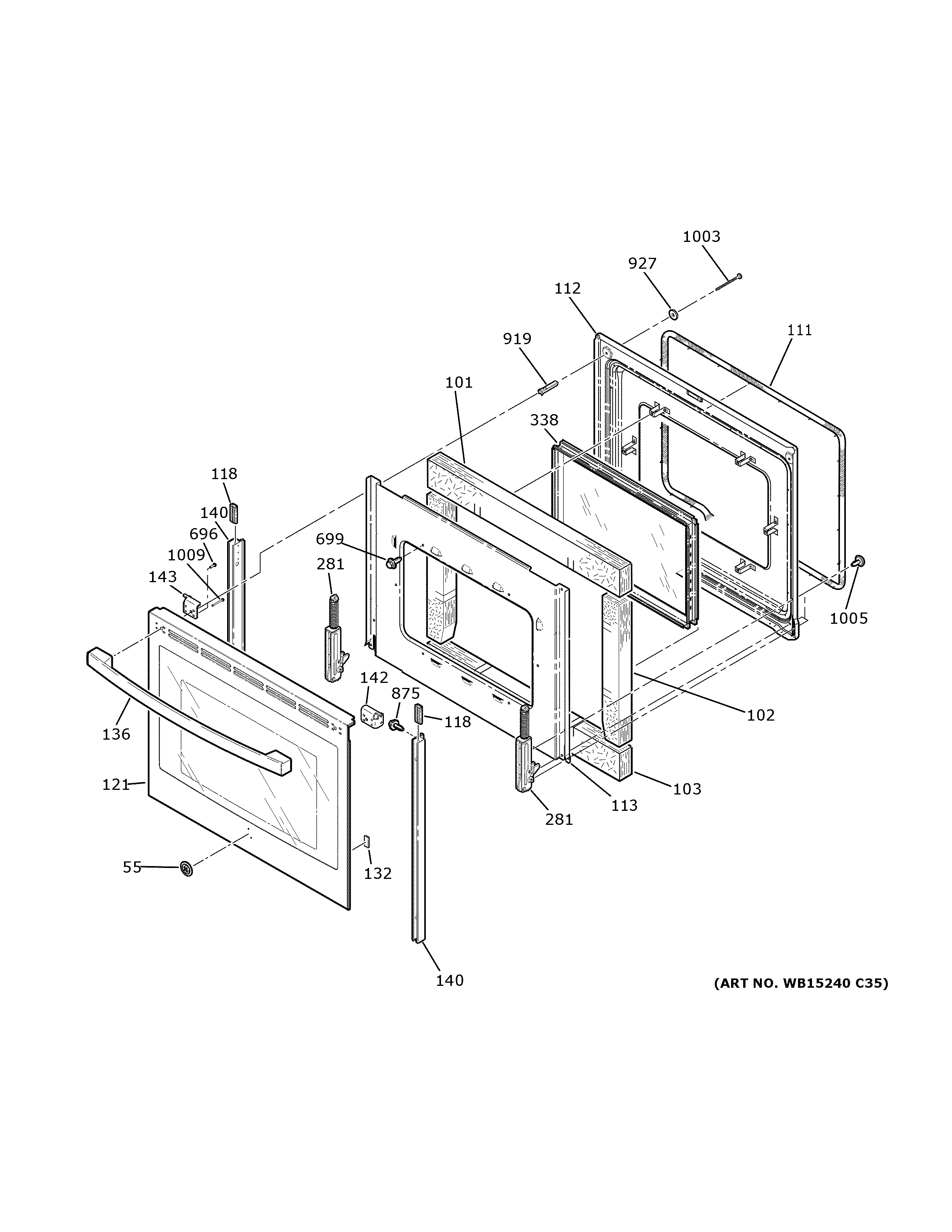
JB258GM2SA DOOR