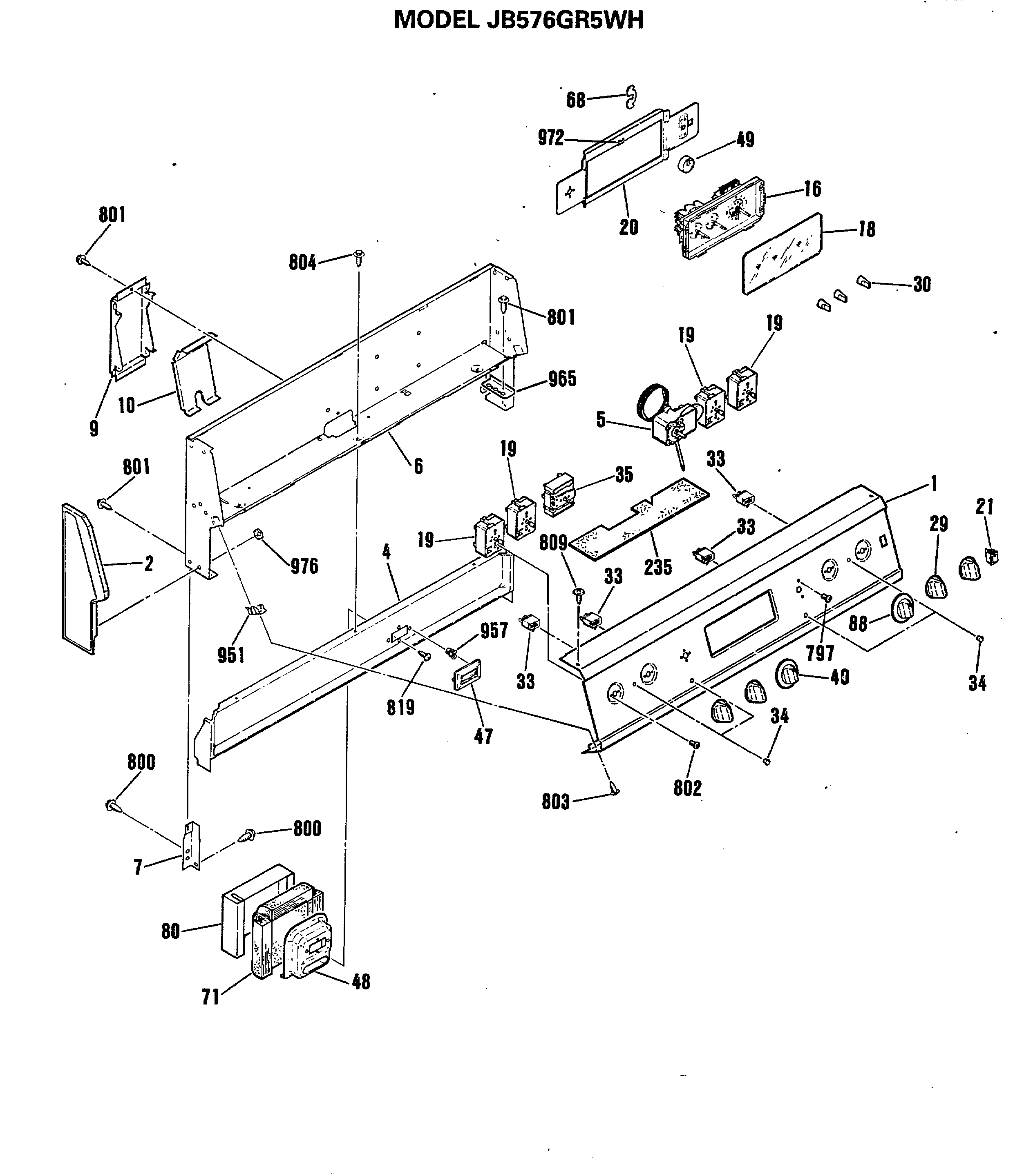
JB576GR5WH 3