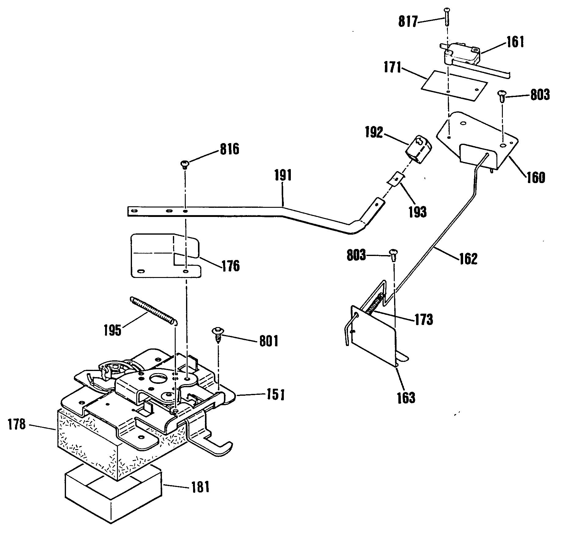
| 151 | GEN WB14X0128 |
| 160 | SWITCH MTG BRACKET |
| 161 | GEN WB24M0001 |
| 162 | GEN WB02M0028 |
| 163 | GEN WB02M0029 |
| 171 | SWITCH INSULATOR |
| 173 | LOCK EXTENSION SPRING |
| 176 | GEN WB15M0002 |
| 178 | LOCK BOX INSULATION |
| 181 | GEN WB02K5097 |
| 191 | UNKNOWN |
| 192 | GEN WB03K5154 |
| 193 | KNOB CLIP |
| 195 | LOCK SPRING |
| 268 | WB2X7909 GE Oven Anti-Tip Kit |
| 801 | WB1M1 GE Oven Screw |
| 803 | WB1X1149 GE Oven Screw |
| 816 | GEN WB01X1125 |
| 817 | GEN WB01X1346 |
| 945 | WB1K5046 GE Oven Washer |
| 999 | GEN 31-13055 |
| 999 | GEN WB18K5233 |
| 999 | SENSOR WIRE HARNESS |
| 999 | GEN 49-8354 |
| 999 | LOCK SWITCH HARNESS |
| 999 | LIGHT SWITCH W HARNESS |
| 999 | GEN 31-10059 |
| 999 | WX10X302 GE Scraper |
| 999 | PM10X310 GE Cerama Bryte Cooktop Cleaner |
| 999 | GEN WB18K5357 |