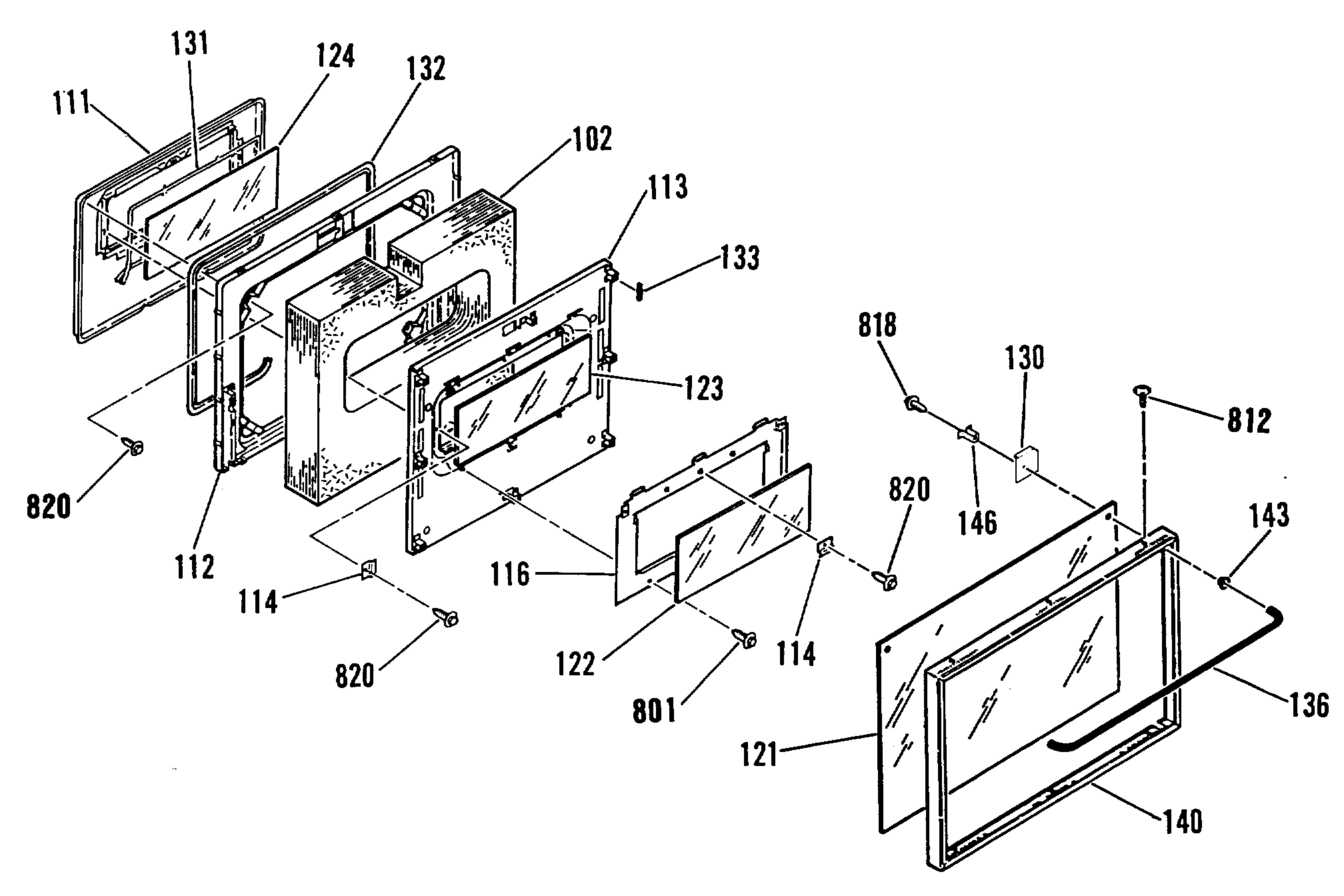
| 102 | OVEN DOOR INSULATION |
| 111 | GEN WB55M0010 |
| 112 | UNKNOWN |
| 113 | INSULATION RETAINER |
| 114 | GEN WB02M0001 |
| 116 | GEN WB02X9178 |
| 121 | OV DR GLASS ASM-WHT |
| 122 | OV DR INTERMED GLASS-UP |
| 123 | CENTER GLASS |
| 124 | OV DR INNER GLASS |
| 130 | GEN WB02K5150 |
| 131 | WB2X9168 GE Oven Seal |
| 132 | WB2X9373 GE Oven Gasket |
| 133 | GEN WB01K5114 |
| 136 | OV DR HANDLE-WHITE |
| 140 | UNKNOWN |
| 143 | DR HANDLE SPACER-WHT |
| 146 | GEN WB02M0046 |
| 801 | WB1M1 GE Oven Screw |
| 812 | WB1K5191 GE Oven Zinc FL Screw |
| 818 | GEN WB01X1250 |
| 820 | WB1X1424D GE Oven Screw Package |