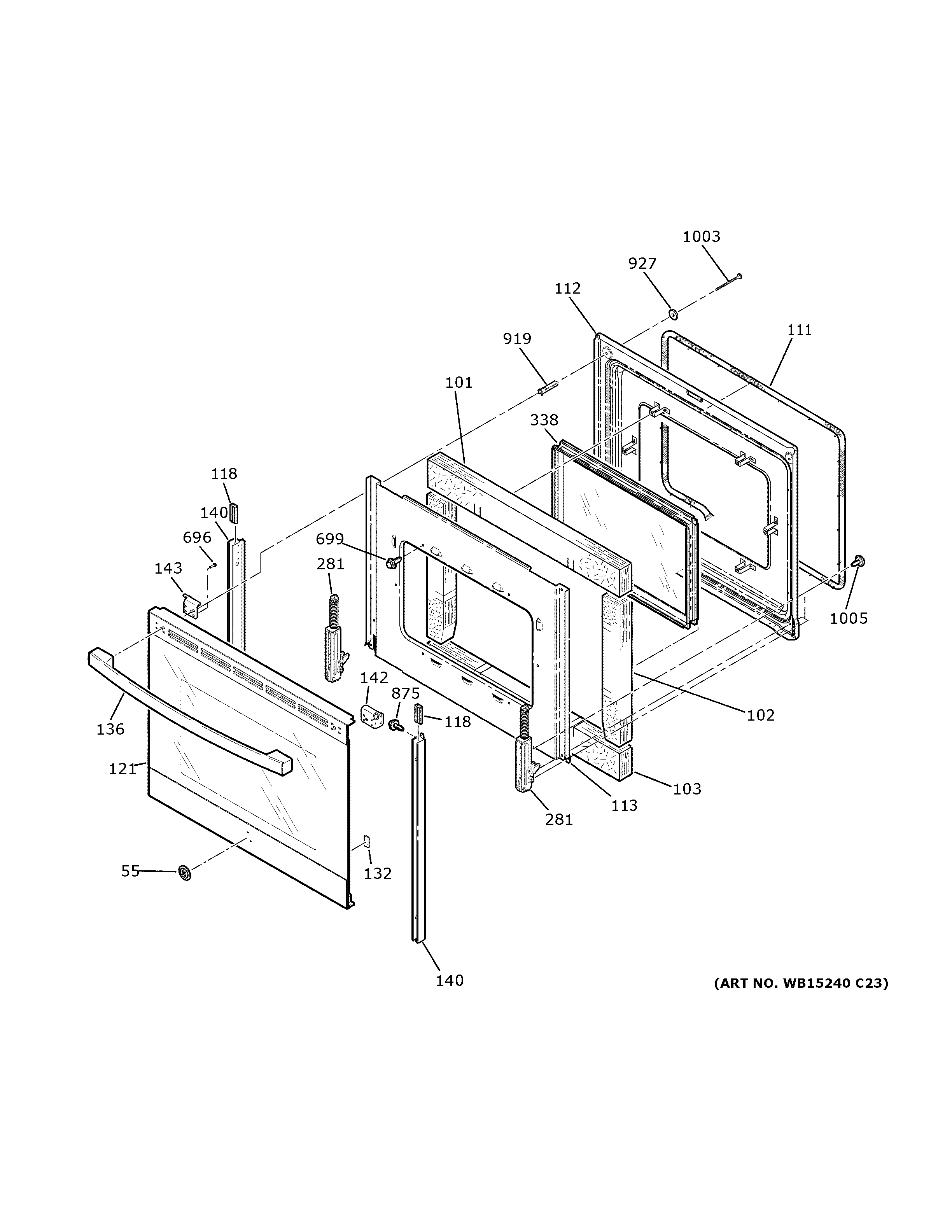
JB625RK6SS DOOR